Täytä BIM-ostoskori tuoteluettelosta
Asiakaspalvelun sähköpostiosoite on muuttunut - Yhteystiedot

Kehykset

Kehykset

Tuotetiedot

1053681 / 2633003 / -

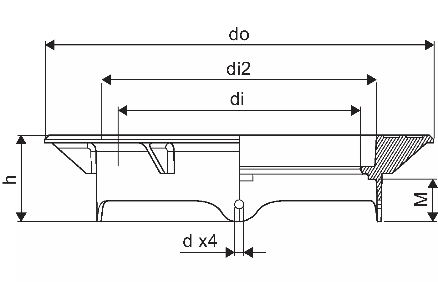
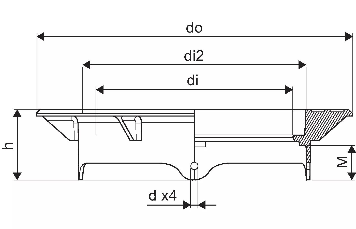
KAIVOT KEHYS D200

KAIVOT KEHYS D200
KAIVOT KEHYS 315 LUKITTAVA TASOTIIVISTEELLÄ
KAIVOT KEHYS 500 LUKITTAVA TASOTIIVISTEELLÄ
KAIVOT NELIÖKEHYS 315 LUKITTAVA TASOTIIVISTEELLÄ
KAIVOT KEHYS D315 HARMAARAUTA EKO
KAIVOT KEHYS L-500 HARMAARAUTA EKO
KAIVOT KEHYS L-500-D GRS NELIÖ
KITAKAIVO 315/500X450 KEHYS C250

Dokumentit

Tuotekuvat

1053681_REN
1053681
29 B
1058560_REN
1058560
76 B
1067937_REN
1067937
54 B
1084215_REN
1084215
9 B
1084216_REN
1084216
9 B
1084215_ZMD
1084215
160 B
1084216_ZMD
1084216
160 B
1084216_PHO
1084216_PHO
216 B