Täytä BIM-ostoskori tuoteluettelosta

Pohjakulmat

Pohjakulmat

Tuotetiedot

1067838 / 2470386 / -

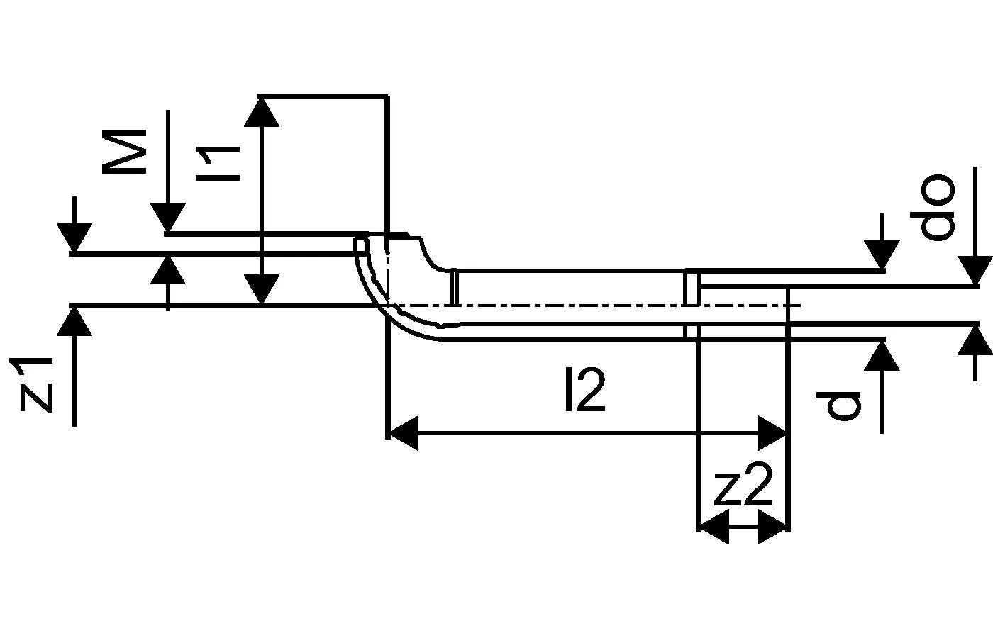
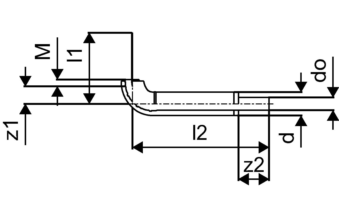
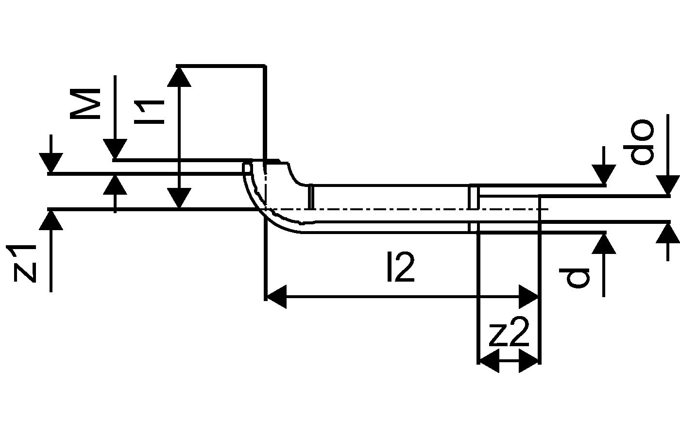
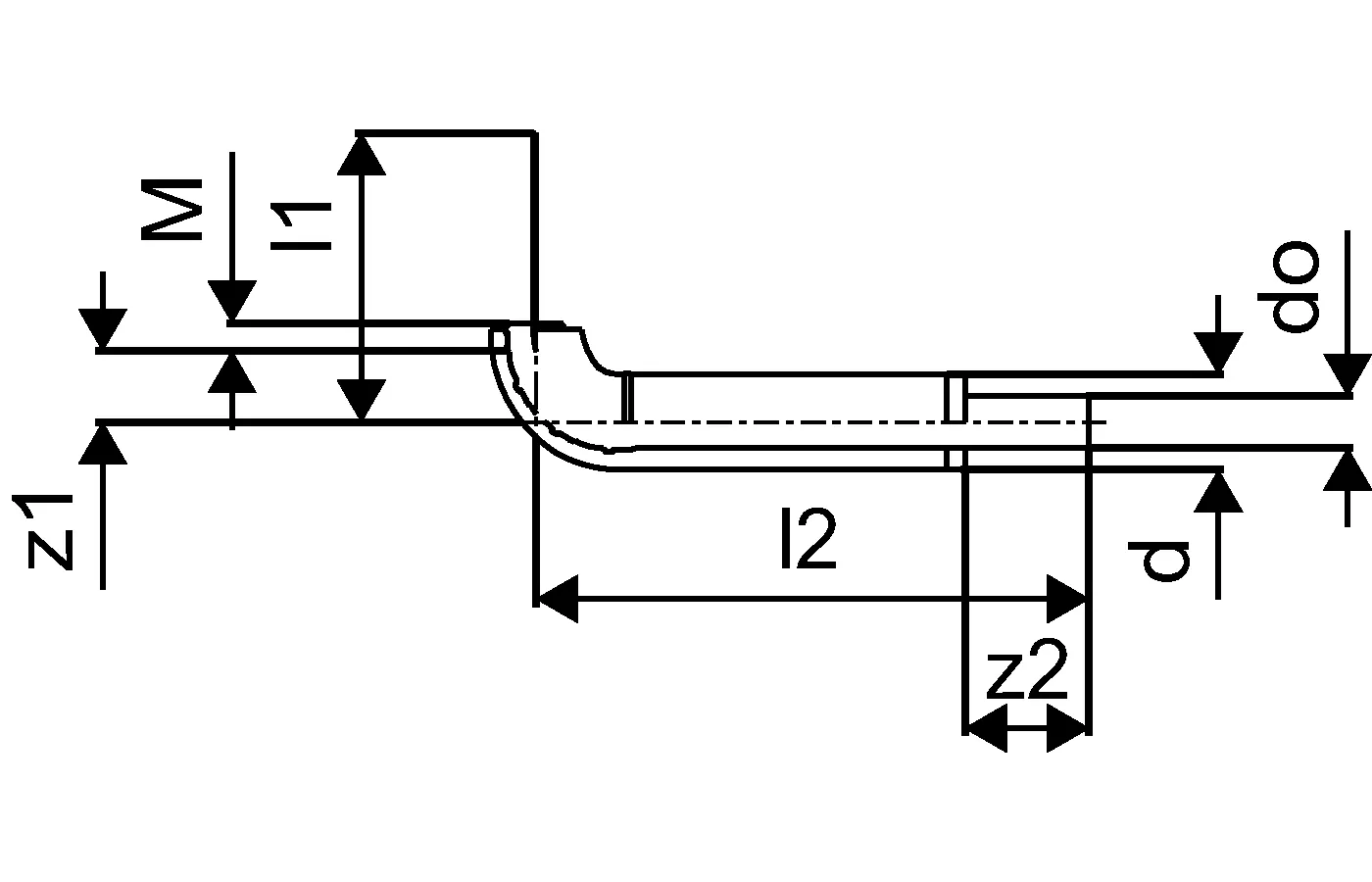
DECIBEL POHJAKULMA 110

DECIBEL POHJAKULMA 110
DECIBEL POHJAKULMAN ASENNUSTARVIKEPAKETTI
1088144 / 2408058 / -

DECIBEL POHJAKULMAN VALUTUKI

DECIBEL POHJAKULMAN VALUTUKI

Dokumentit

Manuals
5 KB0000123005

Kiinteistöviemäröinti: suunnittelu- ja asennusohje Uponor Decibel- ja HTP-kiinteistöviemärijärjestelmille (FI)

Sheets/Flyers
277 B0000089656

Tuotekortti (Technical Datasheet FI)

Hyväksynnät
116 B0000087495

RISE certificate SC0091-16 (FI)

Hyväksynnät
143 B0000087496

RISE certificate SC0091-16 (EN)

Tuotekuvat

1088143_PHO
1088143_PHO
2 KB
1088144_PHO
1088144_PHO
101 B
1067838_ZMD
1067838
119 B
1088143_ZMD
1088143
123 B
1088144_ZMD
1088144
123 B
1067838_REN
1067838
41 B
1067838_REN
1067838
50 B
1067838_LAB
1067838
47 B