Täytä BIM-ostoskori tuoteluettelosta
Asiakaspalvelun sähköpostiosoite on muuttunut - Yhteystiedot

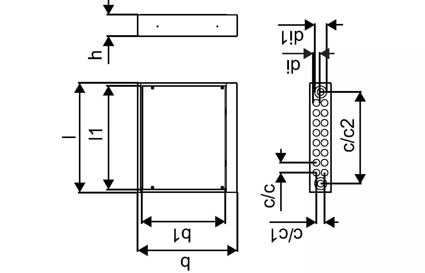
Uponor Aqua PLUS jakotukkikaappi RS

- Kaappi B kahdelle jakotukille, max 8 kv ja 8 lv
- Suojaputkelle 54/48 on käytettävä tätä kaappia
- Kylmä- ja lämminvesisyötöt kaapin eri reunoista

Uponor Aqua PLUS jakotukkikaappi RS

Tuotetiedot

Uponor Aqua PLUS jakotukkikaappi RS B, 550x500x108mm

Dokumentit

Asennusohjeet
52 KB1090878

Asennusohje Aqua PLUS jakotukkikaappi A-K (1090878)

Työselitysmallit
1 KB1118689

Tekniset tiedot PE-Xa piping systems (1118689)

Tietoa

Erittely

- Vuototiiviit kaapit, NT VVS 129
- Sekä pinta- että uppoasennus
- Jakotukit 50 mm lähtövälillä
- Sisältää jakotukkikaapin, roiskesuojan ja tarvikepaketin (sisältää jakotukin pidikkeet messinki- ja muovijakotukeille, läpivientiholkin M7 25/28 mm sekä jakotukkikaapin tulppia)
- Ovet ja kehykset (tarvittaessa) pitää tilata erikseen
- RAL 9010
- Jakotukkeja ja osia voidaan käyttää myös ilman kaappeja
- Metalliliittimet ja -jakotukit sinkkikadon kestävää messinkiä
- Muoviliittimet ja -jakotukit PPSU:ta

Sovellus

- Vesitiiviit asennukset mahdollisten vuotovahinkojen ehkäisemiseksi
- Kaiken tyyppisille jakotukkiasennuksille

Tuotekuvat

1088760_LAB
1088760
91 B
1088760_REN
1088760
175 B
1088760_REN
1088760
81 B
1088760_ZMD
1088760
139 B