Täytä BIM-ostoskori tuoteluettelosta

Uponor Teck päätytiiviste

- Virtausputken ja suojaputken tiivistämiseen patteriylösnousuissa
- 25 mm suojaputkelle

Uponor Teck päätytiiviste

Tuotetiedot

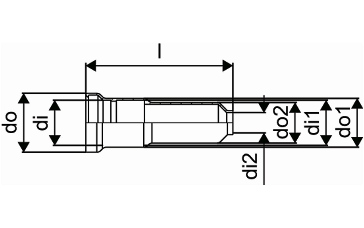
Uponor Teck päätytiiviste 15-25/20 l=80mm

Dokumentit

Työselitysmallit
1 KB1118689

Tekniset tiedot PE-Xa piping systems (1118689)

Asennusohjeet
1 KB1062301

Asennusohje Uni Pipe PLUS (1062301)

Tietoa

Erittely

– Poimutettu, valmistettu suuritiheyksisestä polyeteenistä (HDPE)
– Paloluokka E standardin EN 13501-1 mukaan
– Toimitetaan keloissa

Sovellus

– Käytetään PIP (Pipe in Pipe) -putkiasennuksissa, alentaa vesivahingon riskiä ja mahdollistaa joustavan virtausputken vaihtamisen

Tuotekuvat

1033962_REN
1033962
96 B
1033962_REN
1033962
44 B
1033962_ZMD
1033962
59 B