Täytä BIM-ostoskori tuoteluettelosta
Asiakaspalvelun sähköpostiosoite on muuttunut - Yhteystiedot

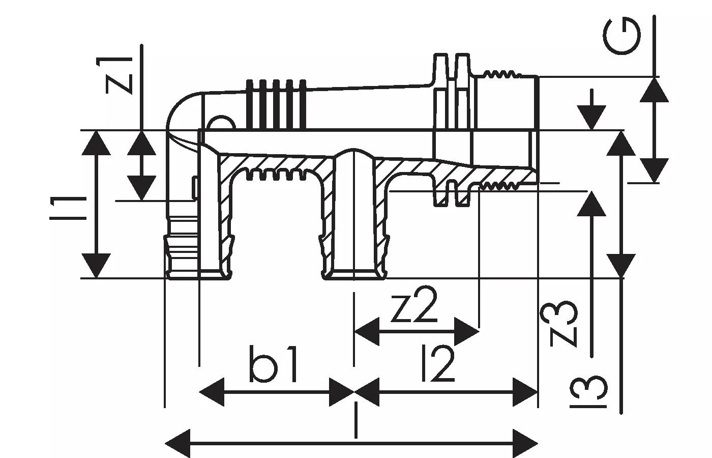
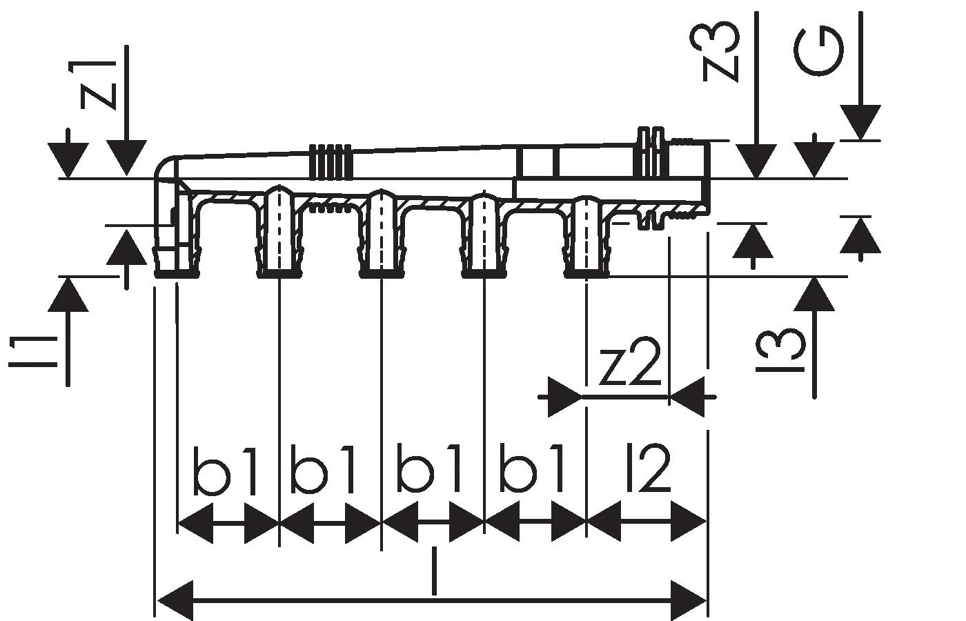
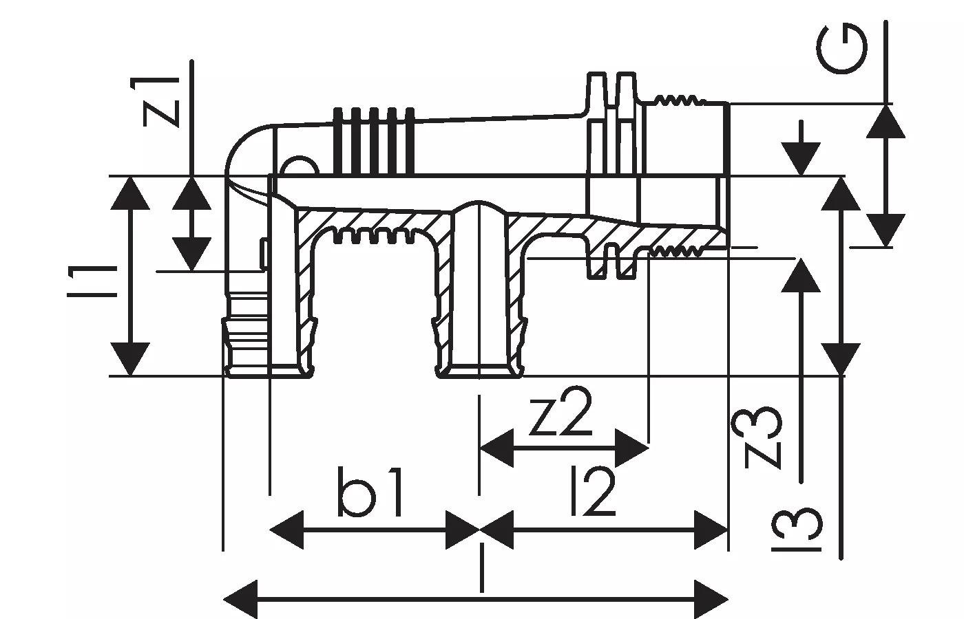
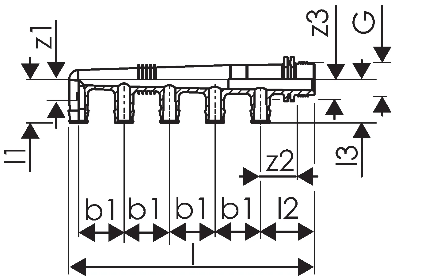
Uponor Q&E jakotukki PPSU

- Jakotukki käyttövedelle
- Materiaali PPSU-muovi
- Q&E-renkaat tilattava erikseen

Uponor Q&E jakotukki PPSU

Tuotetiedot

Uponor Q&E jakotukki PPSU G3/4"MT 2x16 c/c 35mm
Uponor Q&E jakotukki uk PPSU G3/4"MT 3x16 c/c45+35mm
Uponor Q&E jakotukki uk PPSU G3/4"MT 4x16 c/c45+2x35mm
Uponor Q&E jakotukki PPSU G3/4"MT 5x16 c/c 35mm

Dokumentit

Asennusohjeet
1 KB1121763

Asennusohje Q&E 9,9-50 (1121763)

Työselitysmallit
1 KB1118689

Tekniset tiedot PE-Xa piping systems (1118689)

Hyväksynnät
159 B1120397

UPONOR CER AQUA PIPE SYS MECH EUROFINS EUFI29-20001607-TH FI FI (1120397)

Environmental Product Declaration (EPD)
4 KB1160630

Uponor EPD Q&E PPSU (1160630)

Tietoa

Erittely

- Q&E liittimet ja renkaat Uponor PEX-putkille
- Metalliliittimet sinkkikadon kestävää messinkiä
- Muoviliittimet PPSU:ta

Sovellus

- Ulko- ja sisäkierteet EN 10226-1 mukaisesti.

Tuotekuvat

1008714_ZMD
1008714
204 B
1008715_ZMD
1008715
204 B
1120979_ZMD
1120979
215 B
1120980_ZMD
1120980
215 B
1008714_LAB
1008714
84 B
1008715_LAB
1008715
70 B
1120979_LAB
1120979
126 B
1120980_LAB
1120980
73 B
1008714_REN
1008714
335 B
1008714_REN
1008714
133 B
1008715_REN
1008715
154 B
1120980_REN
1120980
145 B