Täytä BIM-ostoskori tuoteluettelosta
Asiakaspalvelun sähköpostiosoite on muuttunut - Yhteystiedot

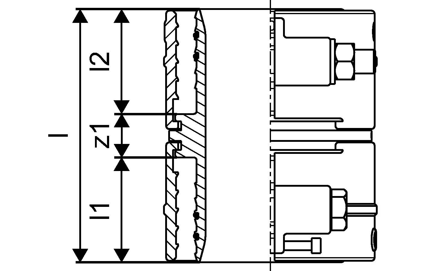
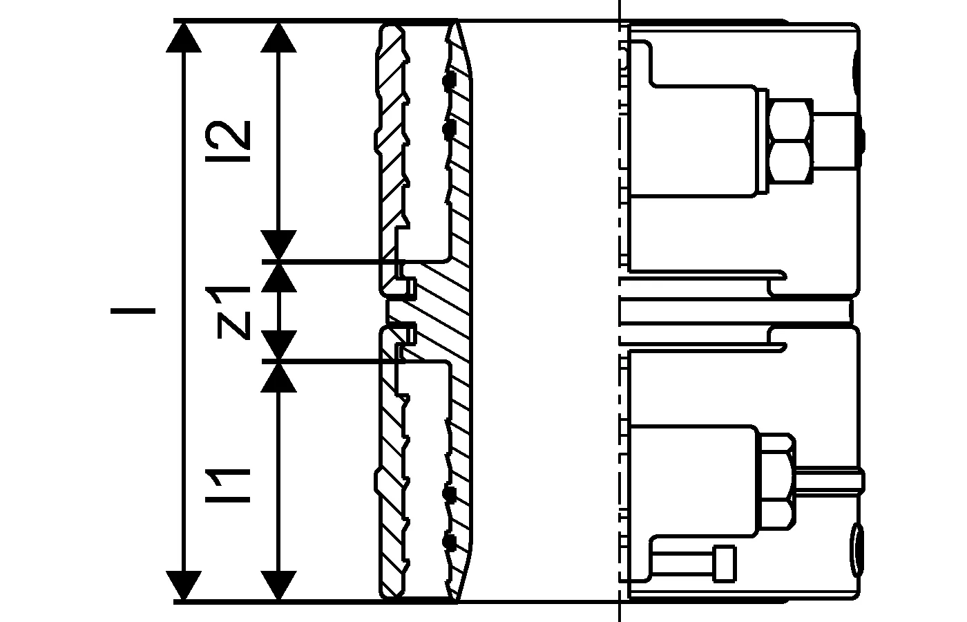
Uponor Ecoflex jatkoliitin PN6

- Käyttökohde: PE-Xa -putkien liittämiseen
- SDR 11
- Materiaali: DR-messinki

Uponor Ecoflex jatkoliitin PN6

Tuotetiedot

Uponor Ecoflex jatkoliitin PN6 125x11,4-125x11,4
Uponor Ecoflex jatkoliitin PN6 140x12,7-140x12,7
Uponor Ecoflex jatkoliitin PN6 160x14,6-160x14,6

Dokumentit

Työselitysmallit
10 KB1120217

Tekniset tiedot Ecoflex piping systems (1120217)

Asennusohjeet
192 B1085019

Asennusohje Ecoflex liitin hitsattava pää (1085019)

Asennusraportti
137 B1120219

Asennusraportti Ecoflex pressure test water pipes (1120219)

Tietoa

Erittely

- Wipex-liittimet sinkkikadon kestävää messinkiä.
- O-rengastiivistys Wipex-liittimien ja Wipex-osien yhdistämisessä.
- Kiristyspultti ruostumatonta terästä, mutteri sinkkikadon kestävää messinkiä.
- Esiavattu kiristyspanta dimensioissa 63-110 mm.

Sovellus

- Lämmitys- ja käyttövesijärjestelmien PEX-putkien liittämiseen

Tuotekuvat

1078365_ZMD
1078365
190 B
1121635_ZMD
1121635
190 B
1121636_ZMD
1121636
190 B
1078365_REN
1078365
583 B
1078365_REN
1078365
181 B
1121635_REN
1121635
133 B
1121636_REN
1121636
122 B
1078365_LAB
1078365
142 B
1121635_LAB
1121635
142 B
1121636_LAB
1121636
142 B