Täytä BIM-ostoskori tuoteluettelosta
Asiakaspalvelun sähköpostiosoite on muuttunut - Yhteystiedot

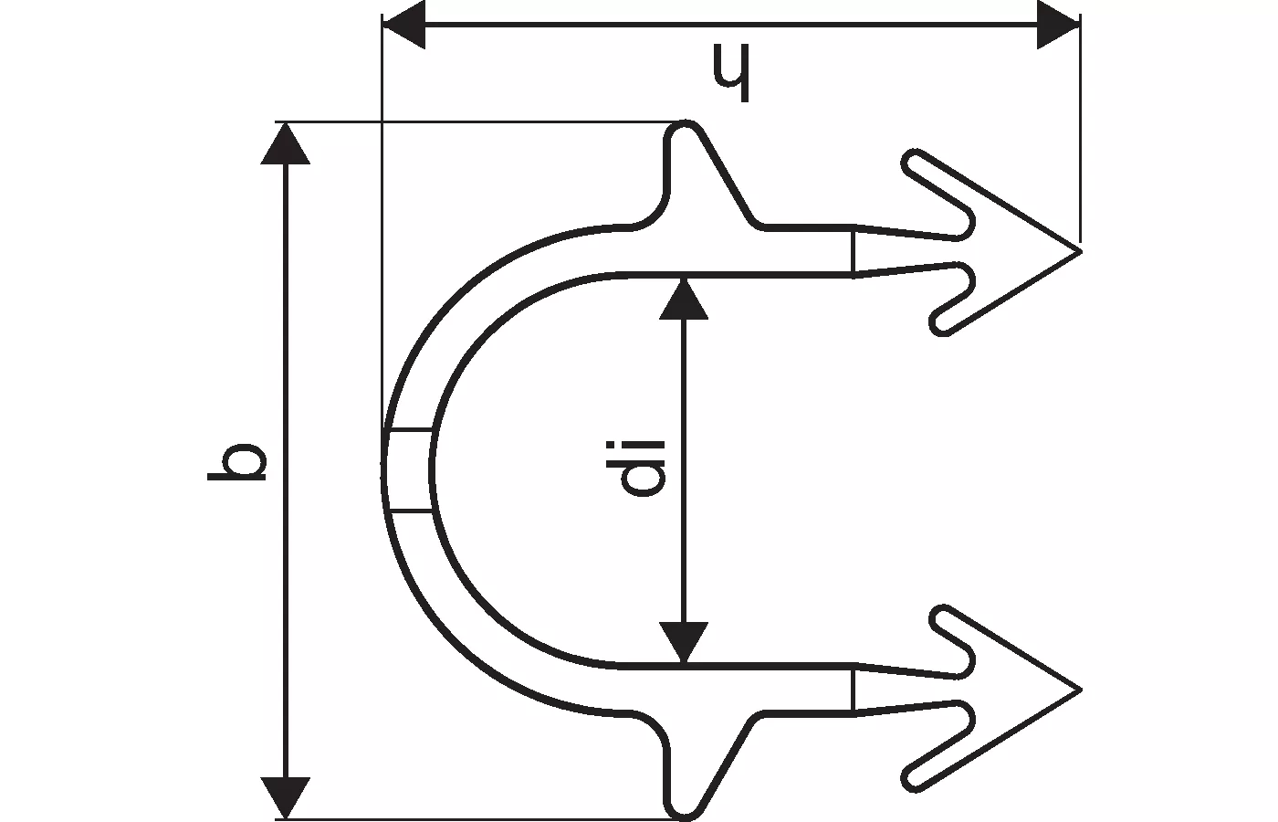
Uponor Tacker kiinnitysväkänen, lyhyt set = 300pce

- Sopii 12-17 mm lattialämmitysputkelle
- Väkäsen voi kiinnittää käsin tai käyttää Tacker-kiinnitystyökalua. Menekki 5 kpl/putkimetri.

Uponor Tacker kiinnitysväkänen, lyhyt set = 300pce

Tuotetiedot

Uponor Tacker kiinnitysväkänen, lyhyt set = 300pce 14-17mm h=35mm

Dokumentit

Työselitysmallit
12 KB1143987

Tekniset tiedot Tacker underfloor heating/ cooling system (1143987)

Tietoa

Erittely

- Tacker-lattiaeristeessä repäisyluja pintakerros on laminoitu EPS-solumuovin päälle
- Paloluokka E standardin EN 13501-1 mukaan
- Rakennusmateriaaliluokka B2 (DIN 4102)
- Pintakerrokseen on painettu 100x100 mm verkkokuviointi

Sovellus

- Vesikiertoiseen lattialämmitykseen ja -viilennykseen
- Käytetään betonimassojen ja pumpputasoitteiden kanssa.

Sertifiointi

- DIN CERTCO: 7F077-F, 7F185-F, 7F216-F, 7F278-F

Tuotekuvat

1140123_ZMD
1140123
146 B
1140123_REN
1140123
35 B
1140123_LAB
1140123
85 B