Napunite BIM košaricu iz kataloga proizvoda
Adresa e-pošte naše korisničke službe se promijenila - Pregled

Uponor S-Press redukcija PPSU

Uponor S-Press redukcija PPSU

Detalji o proizvodu

Uponor S-Press redukcija PPSU 40-25
Uponor S-Press redukcija PPSU 40-32
Uponor S-Press redukcija PPSU 50-32

Dokumenti

Izvješće o postavljanju
111 B1120602

Izvješće o postavljanju MLC leak test report TW water (1120602)

Izvješće o postavljanju
115 B1120608

Izvješće o postavljanju MLC leak test report HC water (1120608)

Izvješće o postavljanju
121 B1120605

Izvješće o postavljanju MLC flushing protocol TW water (1120605)

Environmental Product Declaration (EPD)
906 B1162874

Uponor EPD S-Press

Brošura
277 B1141469

UPONOR DGNB S-PRESS PLUS PPSU 40-75 Fittings

Općenito

Projektanti

- Sa fiksnom press čahurom
- Zaustavni prsten
- Sigurnost pri tlačnom ispitivanju

Primjena

- Sanitarna voda: Stalna radna temperatura je u rasponu od 0°C do 70°C pri kontinuiranom maksimalnom radnom tlaku od 10 bar. Cijevi se mogu kratkotrajno izložiti temperaturi od 95°C, ali ne više od 100 sati tijekom radnog vijeka.
- Grijanje/hlađenje: Stalna radna temperatura kreće se od 0°C do 80°C, pri kontinuiranom maksimalnom radnom tlaku od 10 bar. Cijevi se mogu kratkotrajno izložiti temperaturi od 100°C, ali ne više od 100 sati tijekom radnog vijeka.
Ako nije drugačije navedeno:
- Vanjski i unutarnji navoji proizvedeni u skladu sa normom EN 10226-1.

Certifikat

- odobrenja izdaju ovlaštene institucije, npr. DVGW, AENOR

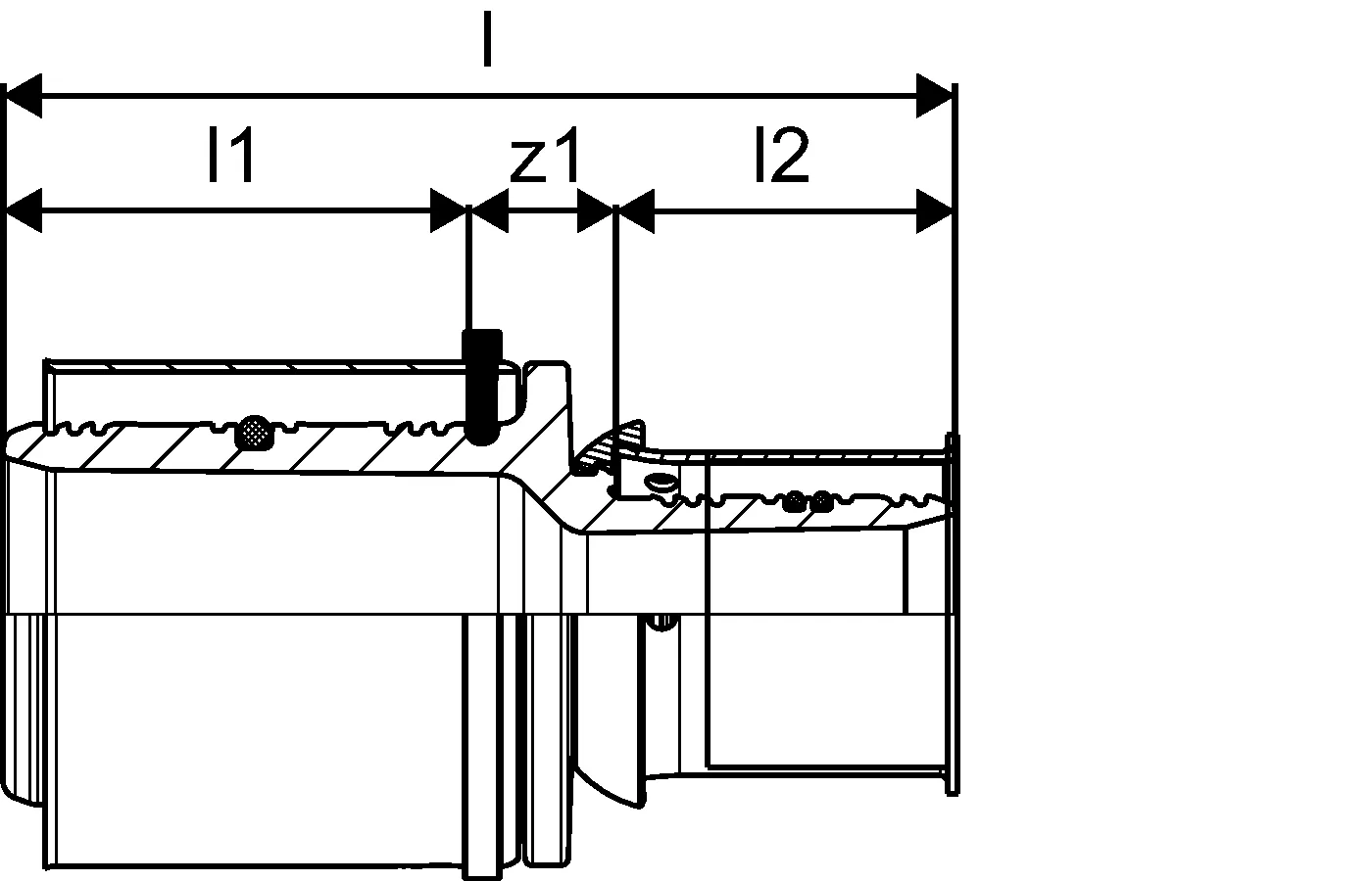
Crteži proizvoda

1039941_ZMD
1039941
156 B
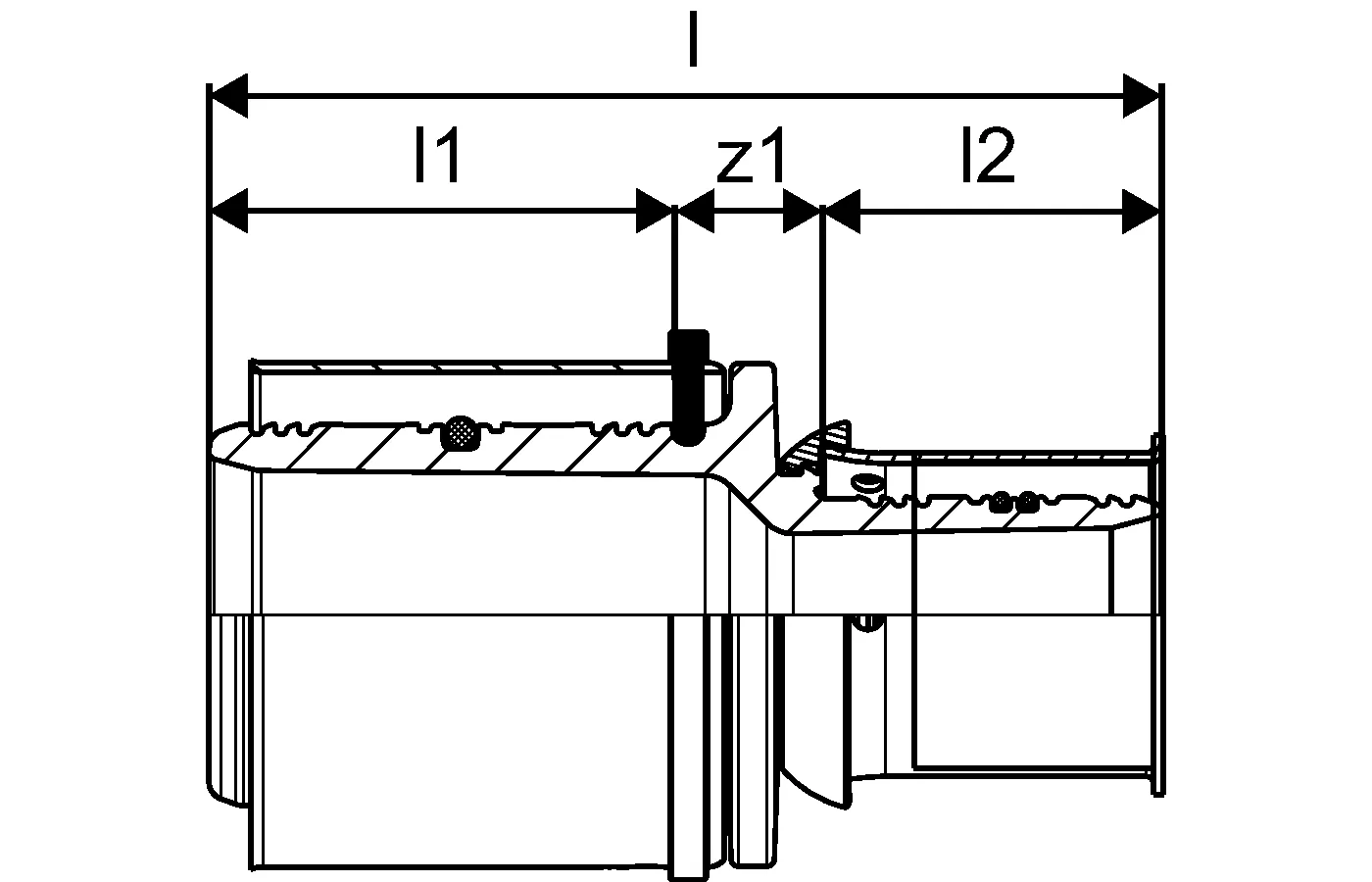
1039942_ZMD
1039942
150 B
1039943_ZMD
1039943
150 B
1039941_LAB
1039941
86 B
1039942_LAB
1039942
86 B
1039943_LAB
1039943
86 B
1039941_REN
1039941
89 B
1039942_REN
1039942
92 B
1039943_REN
1039943
104 B