Töltse meg a BIM kosarat a termékkatalógusból

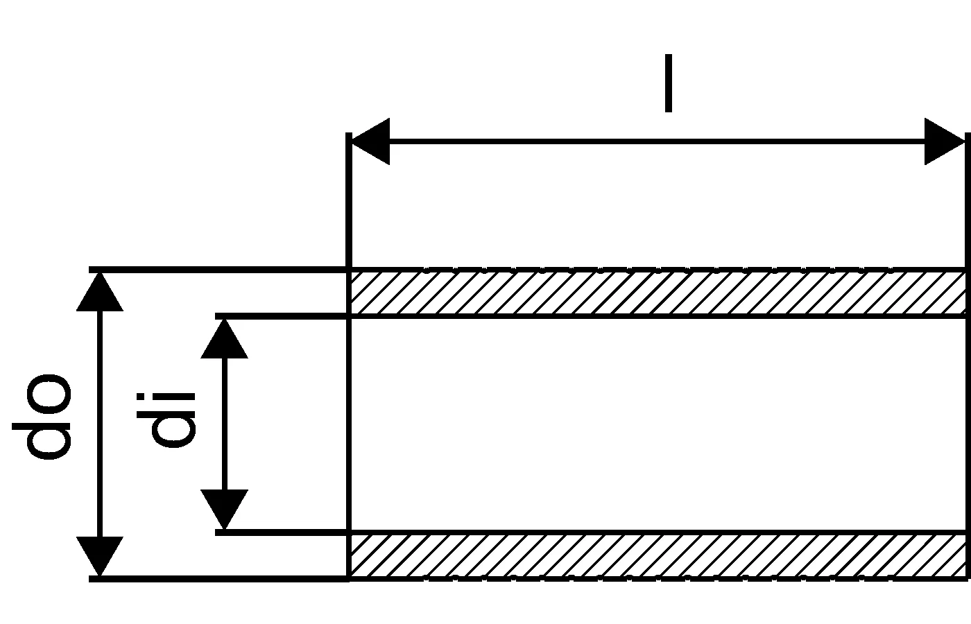
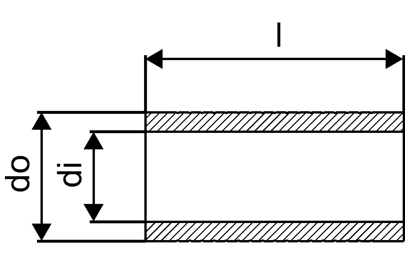
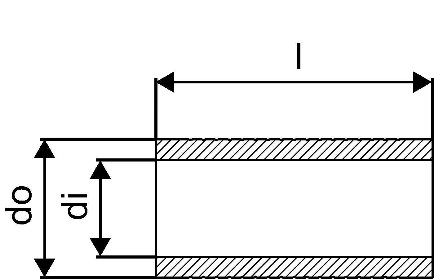
Uponor Ecoflex falátvezető védőhüvely

- Téglafalba vagy betonfalba ágyazva
- Alternatívája a vízálló beton
- Alkalmazható Uponor PWP (nyomás víz) faltömítéshez
- ""Méret"" = a köpenycső átmérőjéhez használatos"

Uponor Ecoflex falátvezető védőhüvely

Termék adatok

Uponor Ecoflex falátvezető védőhüvely 140
Uponor Ecoflex falátvezető védőhüvely 175
Uponor Ecoflex falátvezető védőhüvely 200
Uponor Ecoflex falátvezető védőhüvely 250

Dokumentumok

Telepítési útmutató
2 KB1022113

Telepítési útmutató Ecoflex wall seal PWP (1022113)

Technikai információ
10 KB1120217

Műszaki információk Ecoflex piping systems (1120217)

Leírás

Specifikáció

-Minden tartozék korrózióálló

Alkalmazás

- Az Uponor Ecoflex vezetékek kiegészítő termékei

Bizonyítvány

- A jóváhagyásokat a helyi felelős személynek kell ellenőriznie. -Teljesítménnyilatkozat - DWGV

Termékrajzok

1007370_ZMD
1007370
189 B
1007371_ZMD
1007371
187 B
1007372_ZMD
1007372
187 B
1007370_LAB
1007370
121 B
1007371_LAB
1007371
121 B
1007372_LAB
1007372
121 B
1007370_REN
1007370
522 B
1007370_REN
1007370
147 B
1007371_REN
1007371
147 B