Töltse meg a BIM kosarat a termékkatalógusból

Uponor Ecoflex VIP Aqua Twin

- Meleg csapvíz
- Két közepes PE-Xa cső, SDR 7,4
- Max. terhelés 10 bar / 95°C
- VIP + PEX hab, HDPE burkolat
- Színes középső profil, hogy elkerülhető legyen az ellátás és a keringtetés összetévesztése

Uponor Ecoflex VIP Aqua Twin

Termék adatok

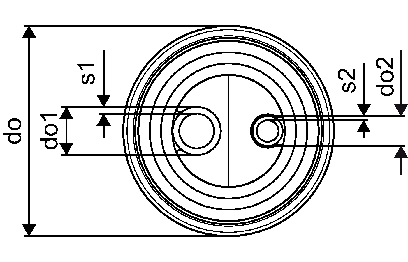
Uponor Ecoflex VIP Aqua Twin 25x3,5-20x2,8/140
Uponor Ecoflex VIP Aqua Twin 32x4,4-20x2,8/140
Uponor Ecoflex VIP Aqua Twin 40x5,5-25x3,5/140
Uponor Ecoflex VIP Aqua Twin 50x6,9-32x4,4/175

Dokumentumok

Termékinformációk
1 KB1185021

Termékinformációk Ecoflex VIP Thermo and VIP Aqua (1185021)

Üzembe helyezési jegyzőkönyv
167 B1133512

Üzembe helyezési jegyzőkönyv Ecoflex pressure test water pipes (1133512)

Telepítési útmutató
1 KB1046550

Telepítési útmutató Ecoflex pipe handling (1046550)

Teljesítménynyilatkozat
340 B1120772

Uponor DoP Ecoflex VIP Thermo SYS EN (1120772)

Environmental Product Declaration (EPD)
856 B1162869

Uponor EPD Ecoflex VIP Aqua (1162869)

Brosúra
272 B1141486

UPONOR DGNB ECOFLEX VIP

Brosúra
318 B0000123389

Ecoflex VIP Thermo (0000123389)

Leírás

Specifikáció

- Rugalmas, előszigetelt, önkompenzáló műanyag csőrendszer, amely az EN 15632 szabvány alapján készült.
- Közepes cső: EN ISO 15875 szabványon alapuló, természetes színű, PN 6 (SDR 11), EN 15632 szabványon alapuló oxigénzáróságú, térhálósított polietilén (PE-Xa) cső.
- Szigetelőanyag: Forradalmi szigetelőanyag rendkívül alacsony lambda-értékkel, tartósan rugalmas, zárt cellás PE-X habbal kombinálva.
- Burkolatcső: Hullámosított polietilén (HDPE)

Alkalmazás

- Melegvíz szállítása földfelszín alatt
- Melegvíz üzemi hőmérséklet max 70°C az EN 15875 szabvány alapján.
- Üzemzavar esetén a maximális hőmérséklet 95°C
- Statikus teherbírás, földárokban, 60 tonna

Bizonyítvány

- A jóváhagyásokat a helyi felelős személynek kell ellenőriznie. -Teljesítménnyilatkozat - DWGV

Termékrajzok

1119053_ZMD
1119053
381 B
1119054_ZMD
1119054
381 B
1119055_ZMD
1119055
381 B
1119056_ZMD
1119056
381 B
1119053_REN
1119053
125 B
1119053_REN
1119053
313 B
1119054_REN
1119054
125 B
1119055_REN
1119055
125 B
1119056_REN
1119056
125 B
1119053_LAB
1119053
105 B
1119054_LAB
1119054
105 B
1119055_LAB
1119055
105 B
1119056_LAB
1119056
105 B