Töltse meg a BIM kosarat a termékkatalógusból
Ügyfélszolgálati e-mail címünk megváltozott – Áttekintés

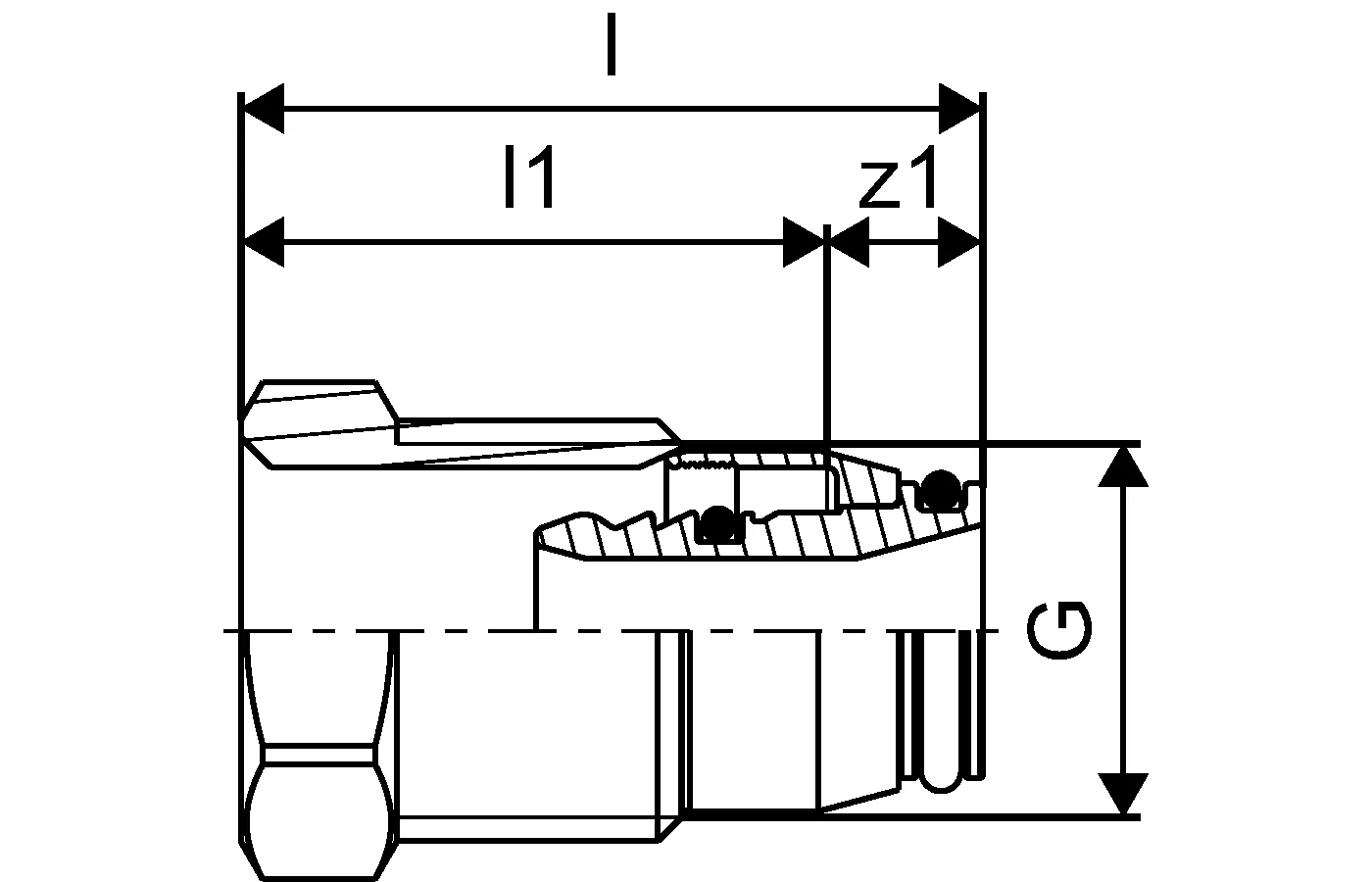
Uponor Smart Radi csatlakozó csavarzat Danfoss

- Bevonatos sárgarézből készült
- külső menetes csavar, belső hüvellyel és szorítógyűrűvel, belső menetes Danfoss radiátorszelepekhez illeszkedik
- O-gyűrű, kék, EPDM-ből.

Uponor Smart Radi csatlakozó csavarzat Danfoss

Termék adatok

Uponor Smart Radi csatlakozó csavarzat Danfoss 16-G1/2"MT

Dokumentumok

Üzembe helyezési jegyzőkönyv
116 B1120119

Üzembe helyezési jegyzőkönyv MLC leak test report TW water (1120119)

Üzembe helyezési jegyzőkönyv
127 B1120120

Üzembe helyezési jegyzőkönyv MLC flushing protocol TW water (1120120)

Üzembe helyezési jegyzőkönyv
110 B1120118

Üzembe helyezési jegyzőkönyv MLC leak test report TW air-gas (1120118)

Leírás

Specifikáció

- Könyökcsapok a csatlakozáshoz
- A Q&E gyűrűket az idomok nem tartlamazzák, azokat külön kell rendelni

Alkalmazás

- Fűtés magas és alacsony hőmérsékletű radiátorokkal

Termékrajzok

0000032863_1013970_REN
0000032863
329 B
1013970_REN
1013970
106 B
1013970_REN
1013970
106 B
1013970_ZMD
1013970
137 B
1013970_LAB
1013970
94 B