Riempire il carrello BIM dal catalogo prodotti
Gli indirizzi e-mail del nostro servizio clienti sono stati modificati – Panoramica completa

Uponor Q&E Intermedio ridotto Minitec

- raccordi in ottone con profilo di tenuta brevettato Quick & Easy
- adatti esclusivamente per tubazioni Uponor Comfort Pipe
- anelli Q&E colore naturale inclusi

Uponor Q&E Intermedio ridotto Minitec

Dettagli articolo

Uponor Q&E Intermedio ridotto Minitec 20xMinitec9,9

Documenti

Manuale di installazione
5 KB1022253

Manuale di installazione Minitec (1022253)

Manuale di installazione
1 KB1121763

Manuale di installazione Q&E 9,9-50 (1121763)

Informazioni tecniche
1 KB1118689

Informazioni tecniche PE-Xa piping systems (1118689)

Informazioni

Specifiche

- Q&E raccordi e anelli per tubi Uponor PE-Xa
- I raccordi in metallo sono realizzati in ottone di alta qualità
- I raccordi in plastica sono realizzati in polifenilsulfone
- Q&E anelli devono essere ordinati separatamente se non diversamente menzionato

Application

se non diversamente indicato:
- Filetti maschio e femmina conformi a EN 10226-1.

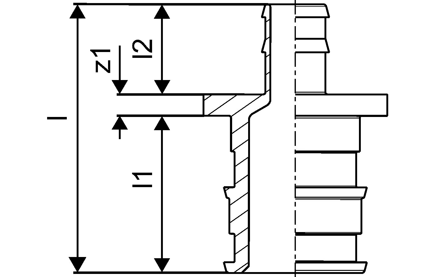
Disegni del prodotto

1020518_REN
1020518
160 B
1020518_REN
1020518
54 B
1020518_ZMD
1020518
129 B