Užpildykite BIM krepšelį iš produktų katalogo
Dėmesio! Pasikeitė mūsų klientų aptarnavimo el. pašto adresas - plačiau

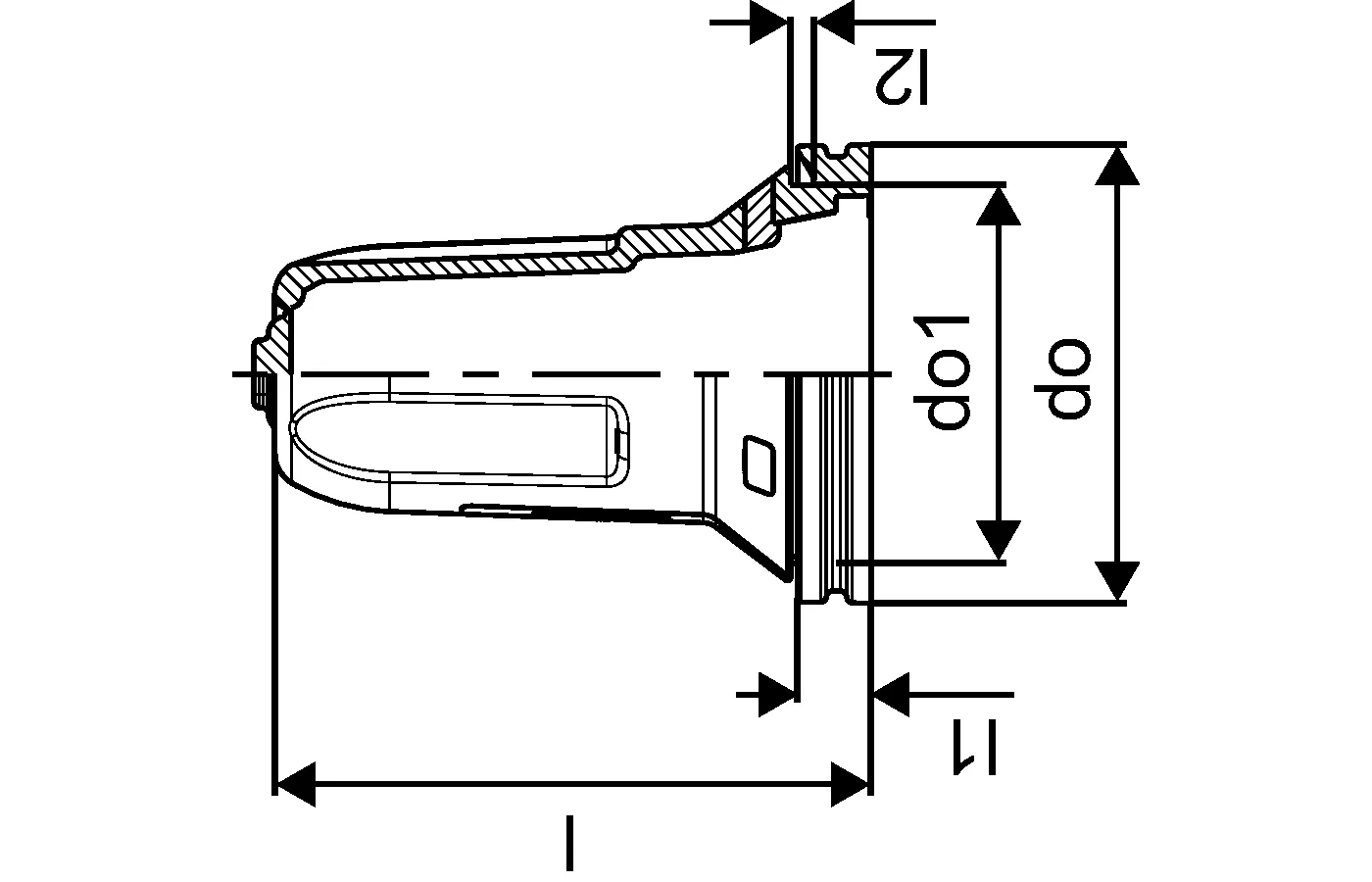
Uponor Aqua PLUS sandariklis, mažas M7

- Skirta naudoti kaip įvorė spintelėje M7
- Naudoti kai vamzdis šarve ar be jo

Uponor Aqua PLUS sandariklis, mažas M7

Prekės duomenys

Uponor Aqua PLUS sandariklis, mažas M7 S 18/14,6 12-18mm
Uponor Aqua PLUS sandariklis, vidutinis M7 M 25/20-28/23 20-28mm
Uponor Aqua PLUS spintelės prijungimas M7 XL 54/48 32-40mm

Dokumentai

Techninė specifikacija
1 KB1119947

Techninė informacija PE-Xa PIPING SYSTEMS (1119947)

Techninė specifikacija
1 KB1118689

Techninė informacija PE-Xa piping systems (1118689)

Montavimo instrukcija
1 KB1062301

Montavimo instrukcija Uni Pipe PLUS (1062301)

Apie

Techninė specifikacija

- Vandeniui sandarios spintelės pagal NT VVS 129
- Skirta kolektoriams su c/c 50 mm
- Skirta M7 spintelės sandarikliais
- Apima spintelę, purslų dangčius ir priedų rinkinį kolektoriaus montavimui
- Durelės ir rėmeliai (jei reikia) užsakomi atskirai
- RAL 9010
- Plastikiniai kolektoriai, skirti montuoti į vandeniui sandarias spinteles
- Kolektoriai ir priedai gali būti naudojami atskirai
- Jei kolektoriai naudojami be sandarių spintelių sistemos sandarumas pagal NT VVS 129 nėra garantuotas
- Metalinės jungiamosios detalės pagamintos iš aukštos kokybės žalvario
- Plastikinės jungiamosios detalės pagamintos iš polifenilsulfono
- PPM kolektoriai su "bayonet" sriegiais

Panaudojimas

- Vandeniui nelaidūs įrenginiai, kad būtų išvengta pažeidimų nuotėkio atveju
- Visų tipų kolektorių instaliacijos

Produktų brėžiniai

1063403_REN
1063403
326 B
1063403_REN
1063403
109 B
1063404_REN
1063404
326 B
1064542_REN
1064542
109 B
1063403_ZMD
1063403
154 B
1064542_ZMD
1064542
154 B