Užpildykite BIM krepšelį iš produktų katalogo

Uponor Aqua PLUS kampinis ventilis PL/DR

- Maišytuvo prijungimui prie Uponor pajungimo dėžutės M7
- Dengiamas dangtelis OD 70 mm

Uponor Aqua PLUS kampinis ventilis PL/DR

Prekės duomenys

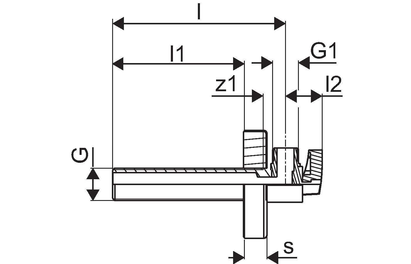
Uponor Aqua PLUS kampinis ventilis PL/DR 1/2"MT-3/8MT, cap 70mm, l=85mm

Dokumentai

Techninė specifikacija
1 KB1119947

Techninė informacija PE-Xa PIPING SYSTEMS (1119947)

Techninė specifikacija
1 KB1118689

Techninė informacija PE-Xa piping systems (1118689)

Montavimo instrukcija
1 KB1062301

Montavimo instrukcija Uni Pipe PLUS (1062301)

Apie

Techninė specifikacija

- Vandeniui sandarios spintelės pagal NT VVS 129
- Skirta kolektoriams su c/c 50 mm
- Skirta M7 spintelės sandarikliais
- Apima spintelę, purslų dangčius ir priedų rinkinį kolektoriaus montavimui
- Durelės ir rėmeliai (jei reikia) užsakomi atskirai
- RAL 9010
- Plastikiniai kolektoriai, skirti montuoti į vandeniui sandarias spinteles
- Kolektoriai ir priedai gali būti naudojami atskirai
- Jei kolektoriai naudojami be sandarių spintelių sistemos sandarumas pagal NT VVS 129 nėra garantuotas
- Metalinės jungiamosios detalės pagamintos iš aukštos kokybės žalvario
- Plastikinės jungiamosios detalės pagamintos iš polifenilsulfono
- PPM kolektoriai su "bayonet" sriegiais

Panaudojimas

- Vandeniui nelaidūs įrenginiai, kad būtų išvengta pažeidimų nuotėkio atveju
- Visų tipų kolektorių instaliacijos

Produktų brėžiniai

1120244_ZMD
1120244
129 B
1120244_REN
1120244
89 B
1120244_LAB
1120244
58 B