Užpildykite BIM krepšelį iš produktų katalogo

Uponor Aqua PLUS pajungimas, srieginis PL/DR

- Maišytuvo prijungimui prie Uponor pajungimo dėžutės M7
- Dengiamas dangtelis OD 70 mm

Uponor Aqua PLUS pajungimas, srieginis PL/DR

Prekės duomenys

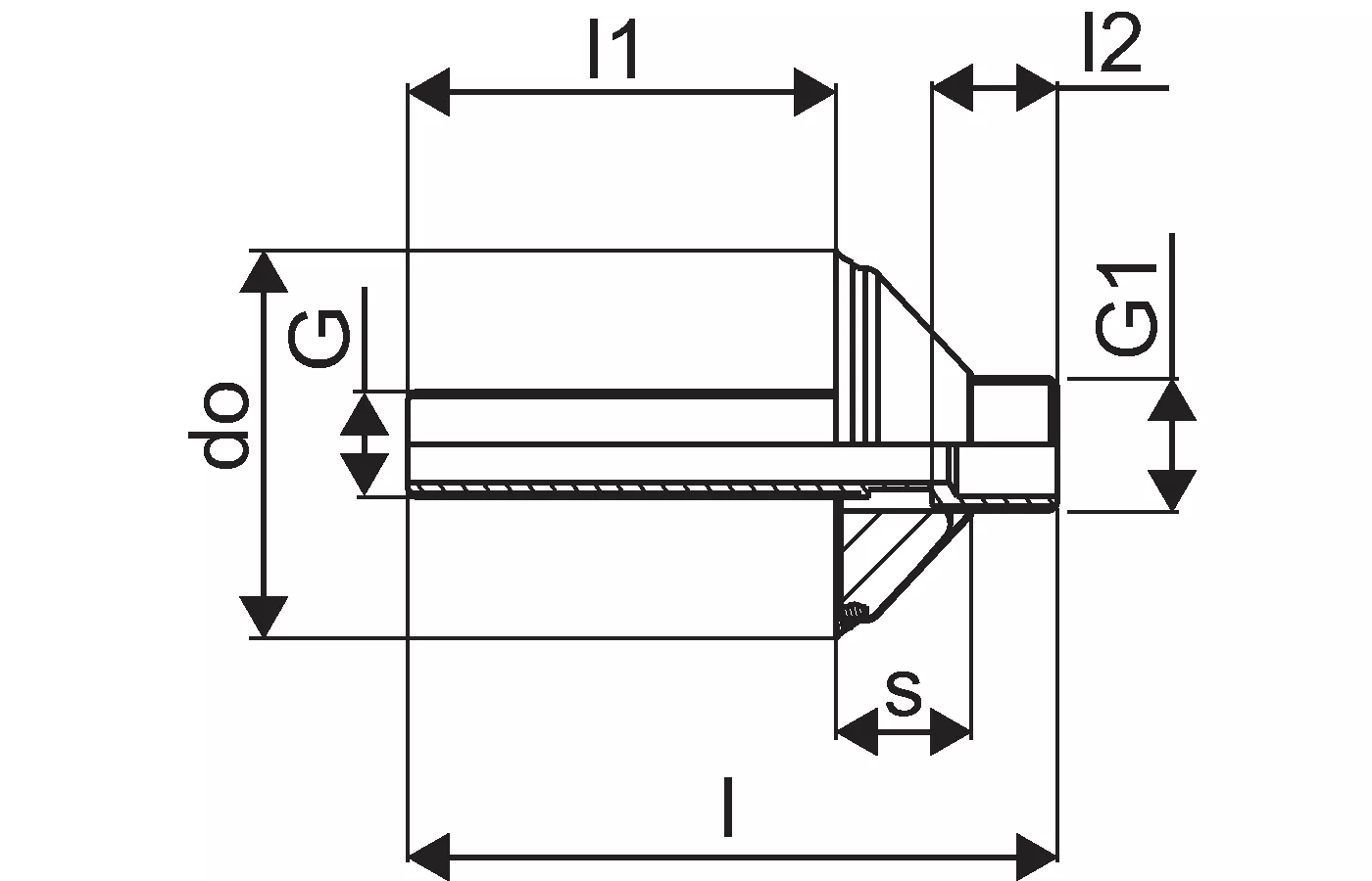
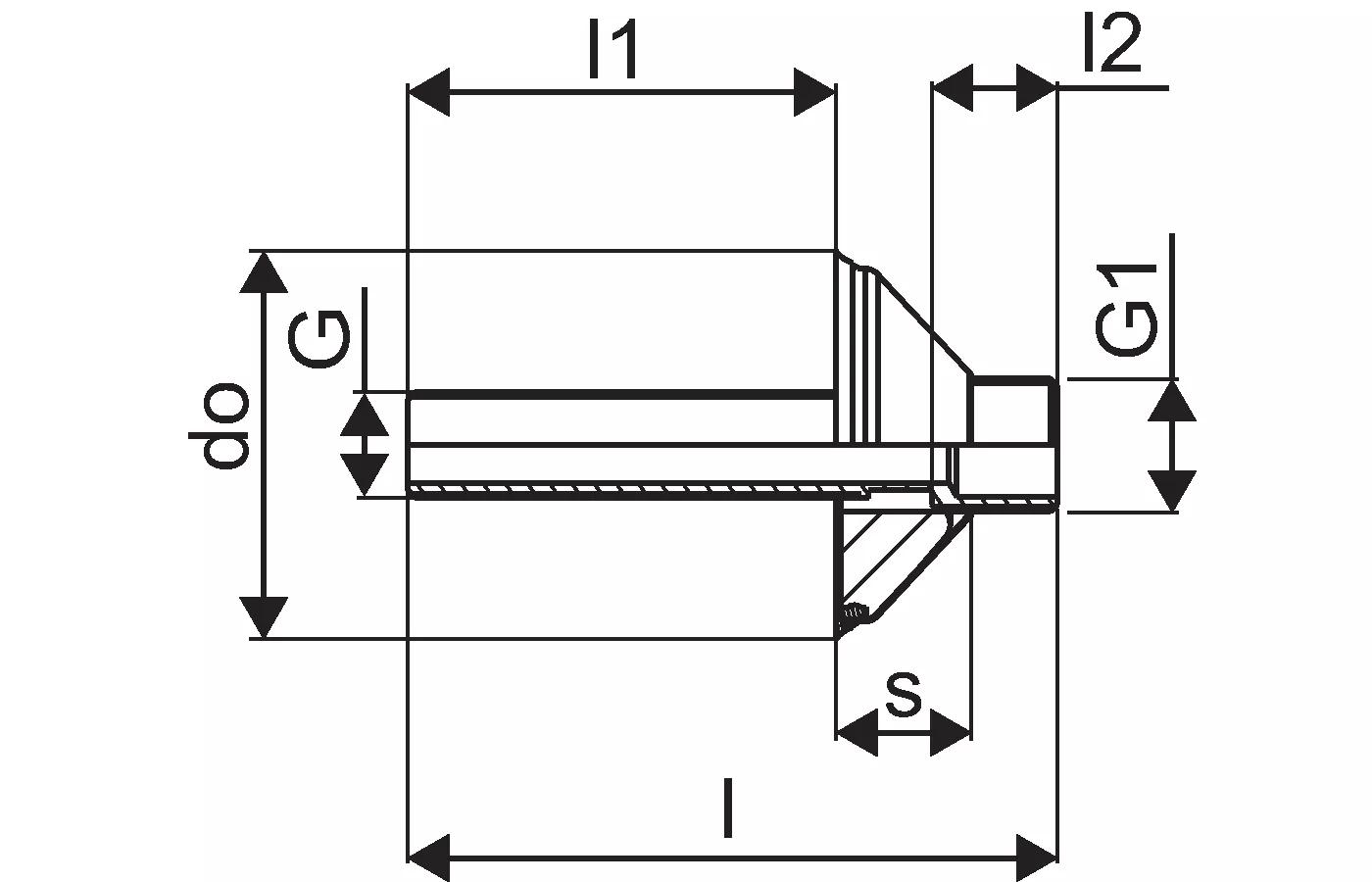
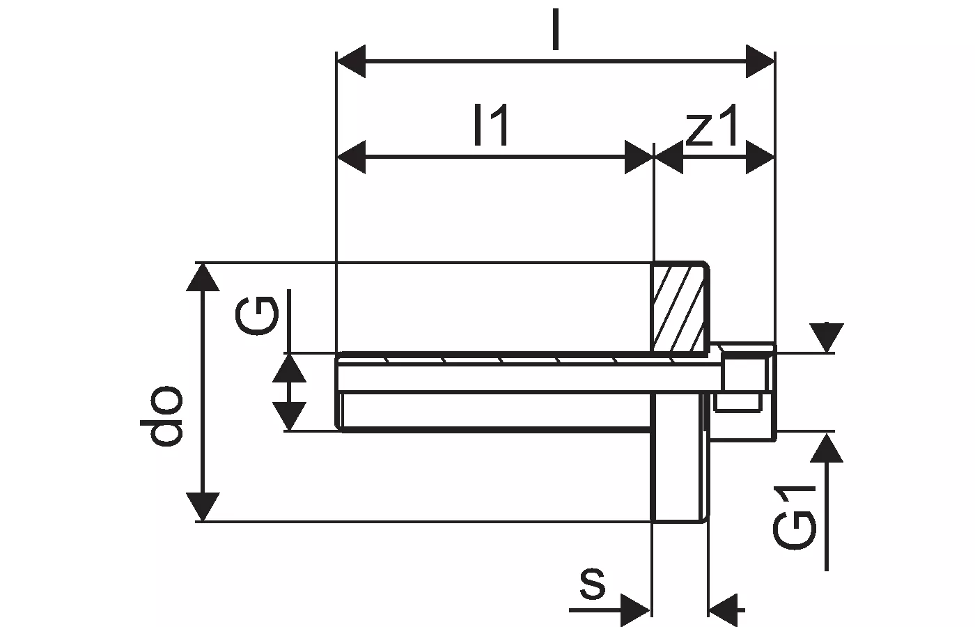
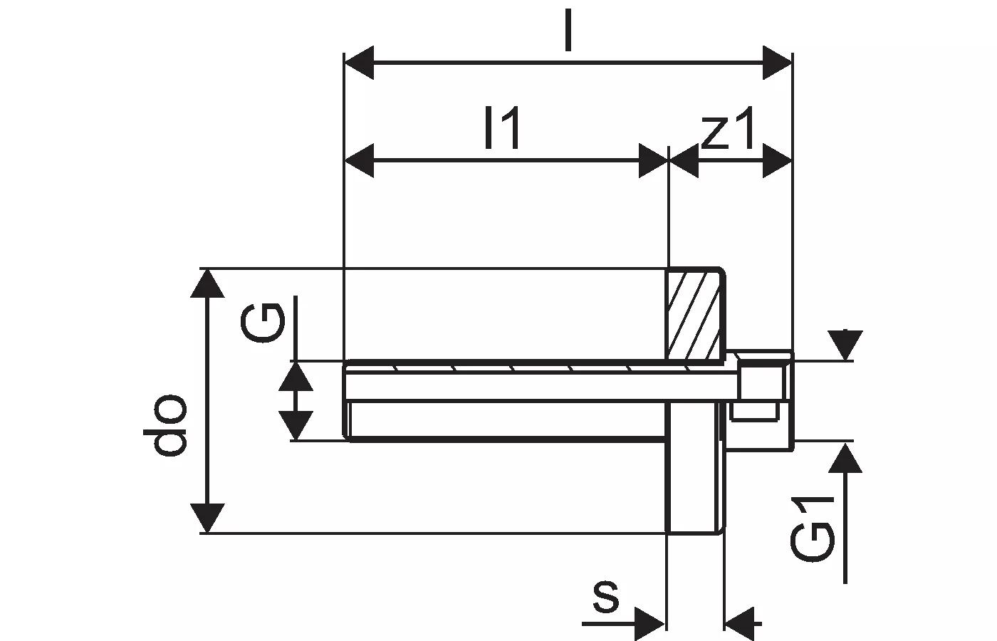
Uponor Aqua PLUS pajungimas, srieginis PL/DR 1/2"MT/FT, cap 70mm, l=85mm

Dokumentai

Montavimo instrukcija
391 B1132684

Montavimo instrukcija Aqua PLUS tap extension (1132684)

Techninė specifikacija
1 KB1119947

Techninė informacija PE-Xa PIPING SYSTEMS (1119947)

Techninė specifikacija
1 KB1118689

Techninė informacija PE-Xa piping systems (1118689)

Apie

Techninė specifikacija

- Vandeniui sandarios spintelės pagal NT VVS 129
- Skirta kolektoriams su c/c 50 mm
- Skirta M7 spintelės sandarikliais
- Apima spintelę, purslų dangčius ir priedų rinkinį kolektoriaus montavimui
- Durelės ir rėmeliai (jei reikia) užsakomi atskirai
- RAL 9010
- Plastikiniai kolektoriai, skirti montuoti į vandeniui sandarias spinteles
- Kolektoriai ir priedai gali būti naudojami atskirai
- Jei kolektoriai naudojami be sandarių spintelių sistemos sandarumas pagal NT VVS 129 nėra garantuotas
- Metalinės jungiamosios detalės pagamintos iš aukštos kokybės žalvario
- Plastikinės jungiamosios detalės pagamintos iš polifenilsulfono
- PPM kolektoriai su "bayonet" sriegiais

Panaudojimas

- Vandeniui nelaidūs įrenginiai, kad būtų išvengta pažeidimų nuotėkio atveju
- Visų tipų kolektorių instaliacijos

Produktų brėžiniai

1120243_ZMD
1120243
132 B
1120247_ZMD
1120247
113 B
1120243_REN
1120243
130 B
1120247_REN
1120247
336 B
1120247_REN
1120247
116 B
1120243_LAB
1120243
53 B
1120247_LAB
1120247
58 B