Užpildykite BIM krepšelį iš produktų katalogo
Dėmesio! Pasikeitė mūsų klientų aptarnavimo el. pašto adresas - plačiau

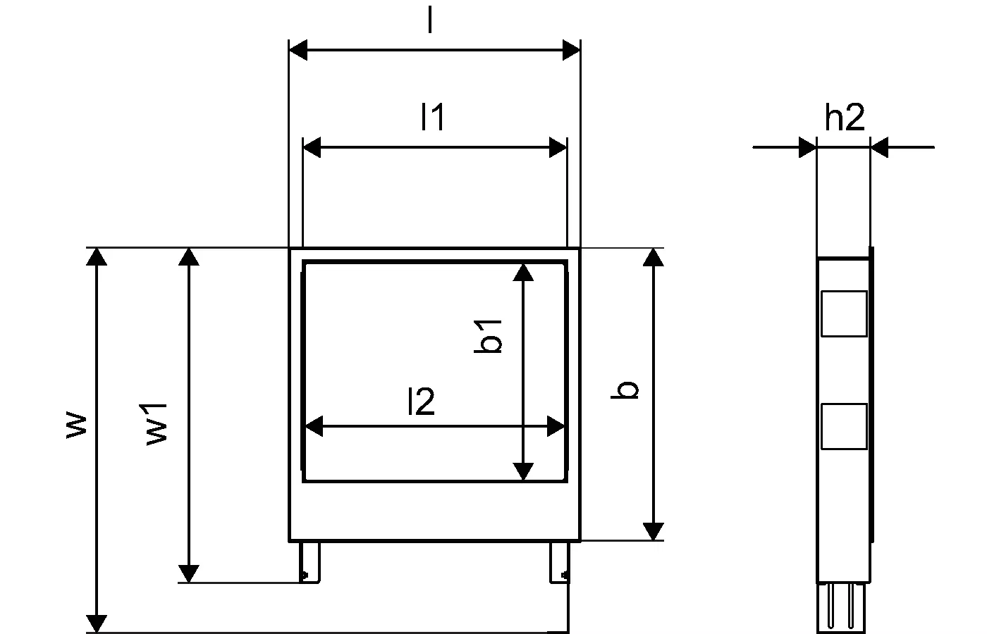
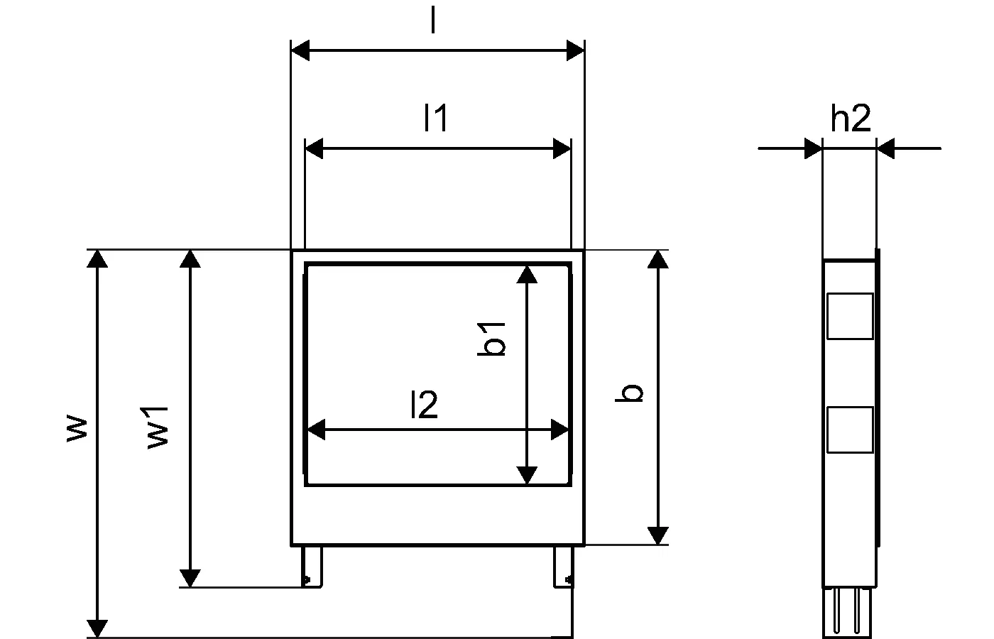
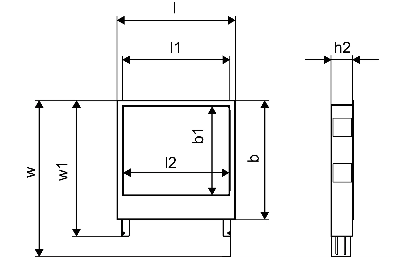
Uponor Vario C spintelė IW

- Sukomplektuota spintelė su rėmu ir durelėmis, skirta montavimui sienoje
- Gylis - 110 mm, galima išplėsti iki 160 mm
- Reguliuojamas aukštis - 649 - 749 mm
- Medžiaga - cinkuotas plienas
- Rėmas ir durys padengta baltais milteliniais dažais (RAL 9016)
- Užrakinama

Uponor Vario C spintelė IW

Prekės duomenys

Uponor Vario C spintelė IW 535x649x110
Uponor Vario C spintelė IW 680x649x110
Uponor Vario C spintelė IW 835x649x110
Uponor Vario C spintelė IW 1035x649x110
Uponor Vario C spintelė IW 1135 x649x110

Dokumentai

Montavimo instrukcija
867 B1122088

Montavimo instrukcija Vario C cabinet IW (1122088)

Techninė specifikacija
1 KB1095069

Techninė informacija Vario cabinet (1095069)

Techninė specifikacija
1 KB1119947

Techninė informacija PE-Xa PIPING SYSTEMS (1119947)

Brošiūra
288 B1141475

UPONOR DGNB VARIO IW Verteilerschraenke

Apie

Techninė specifikacija

- Pagamintas iš nerūdijančio plieno
- Su integruotais vožtuvais
- Komplekte su laisva veržle iš abiejų kolektoriaus pusių
- Su srauto matuokliais paprastesniam balansavimui
- Komplekte nuorinimo vožtumas, bei sisitemos užpildymo vožtuvas
- G3/4 Eurocone jungtis
- Atstumas tarp žiedų pajungimų 50 mm
- Atstumas tarp kolektorių vamzdžių 210mm

Panaudojimas

- Grindiniam šildymui ir vėsinimui
- Suderinama su pavaromis 1013006 230V FT ir 1013008 24V FT
- Maksimalus slėgis: 6 bar 60°C temperatūroje

Produktų brėžiniai

1121509_ZMD
1121509
99 B
1121510_ZMD
1121510
99 B
1121511_ZMD
1121511
99 B
1121512_ZMD
1121512
99 B
1121513_ZMD
1121513
99 B
1121509_REN
1121509
64 B
1121509_REN
1121509
23 B
1121510_REN
1121510
31 B
1121511_REN
1121511
32 B
1121512_REN
1121512
42 B
1121513_REN
1121513
42 B
1121509_LAB
1121509
49 B
1121510_LAB
1121510
54 B
1121511_LAB
1121511
57 B
1121512_LAB
1121512
62 B
1121513_LAB
1121513
61 B