Wypełnij koszyk BIM z katalogu produktów
Adres e-mail naszego działu obsługi klienta uległ zmianie — sprawdź na stronie kontakowej

Uponor Minitec taśma brzegowa samoprzyl.

- taśma brzegowa dla niskich systemów zabudowy, takich jak Uponor Minitec czy Siccus 16, zgodna z DIN 18560, samoprzylepna wykonana z polietylenu, posiadająca samoprzylepną folię uszczelniająca taśmę brzegową z izolacją

Uponor Minitec taśma brzegowa samoprzyl.

Szczegóły dotyczące produktu:

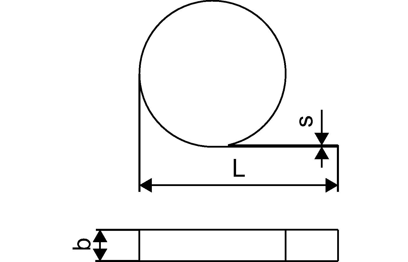
Uponor Minitec taśma brzegowa samoprzyl. 20m 80x8mm
Uponor Minitec taśma brzegowa samoprzyl. 20m 80x8mm

Dokumenty

Instrukcja instalacji
5 KB1022253

Instrukcja instalacji Minitec (1022253)

Informacje techniczne
22 KB1141747

Informacje techniczne Minitec underfloor heating/ cooling system (1141747)

Informacja o produkcie
19 KB1095407

Informacja o produkcie Minitec levelling material (1095407)

O produkcie

Specyfikacja

- System ogrzewania podłogowego Minitec do mocowania na podłogach litych lub określonych materiałach izolacyjnych
- Zaprojektowany jako trwały system mocowania rur o minimalnej wysokości, ze zintegrowanymi kanałami do układania rur, które zapewniają zachowanie prawidłowych odległości przy układaniu rur
- Do stosowania w połączeniu z rurami Uponor Minitec PE-Xa 9,9 × 1,1 mm; rury można układać prosto i ukośnie
- Klasyfikacja odporności ogniowej według normy EN 13501-1: klasa E
- Palność standardowa, klasa materiałów budowlanych B2, zgodna z normą DIN 4102
- Rozstaw rur: Vz 5, 10, 15
- Powierzchnia siatki z nakładającymi się wypustkami: 0,77 m²

Podanie

- Promiennikowe ogrzewanie i chłodzenie podłogowe
- Bardzo mała wysokość konstrukcji
- Do użytku z dopuszczonymi materiałami wypełniającymi

Rysunki produktów

1005267_LAB
1005267
125 B
1020183_LAB
1020183
125 B
1005267_REN
1005267
198 B
1005267_REN
1005267
146 B
1020183_REN
1020183
472 B
1020183_REN
1020183
198 B
1005267_ZMD
1005267
81 B
1005267_ZMD
1005267
81 B
1020183_ZMD
1020183
81 B