Iz kataloga izdelkov napolnite košarico BIM

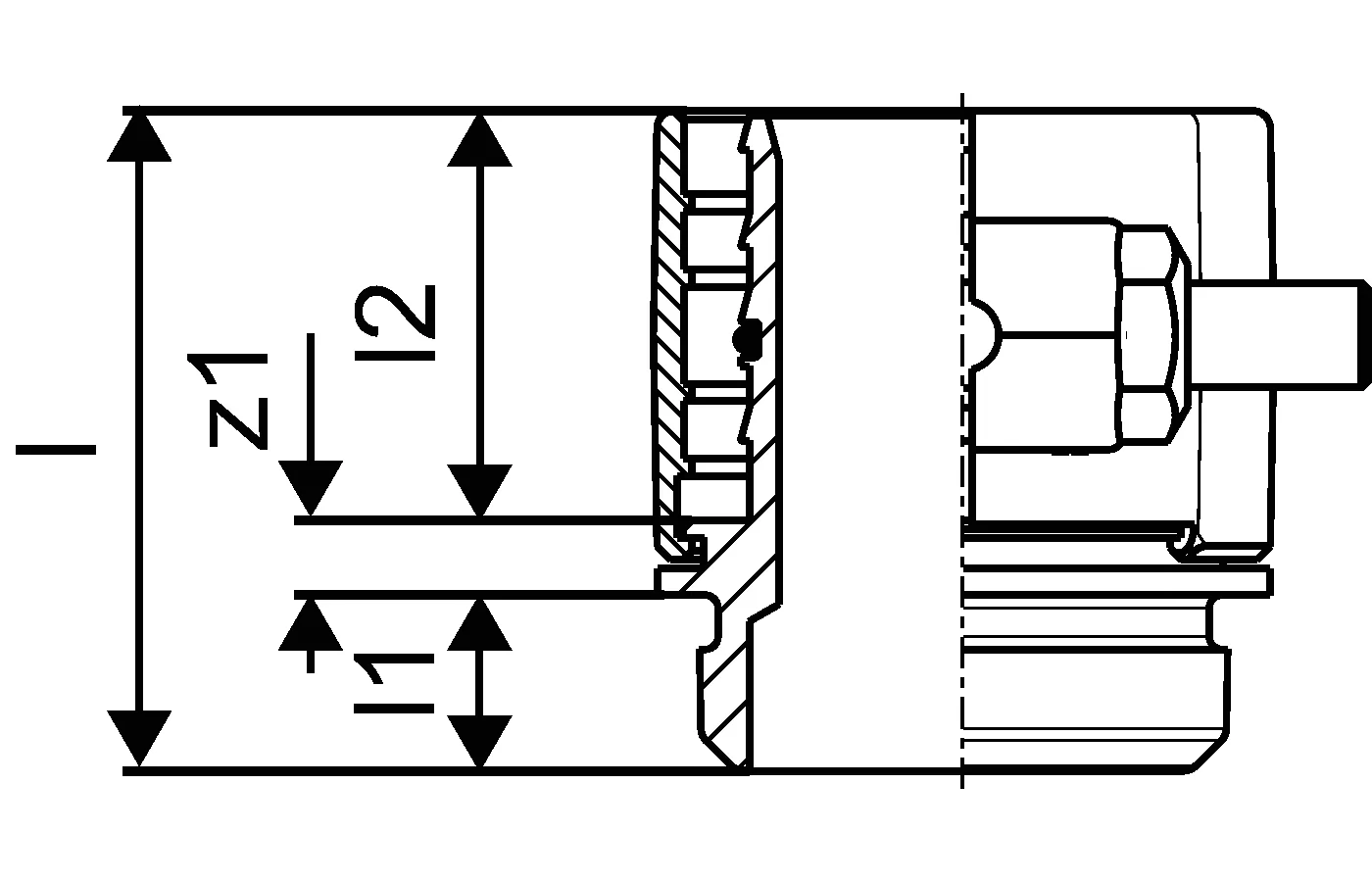
Uponor Wipex RS2 adapter PN6

- RS = edinstven koncept modularnih fitingov
- 6 bar, SDR 11
- DR = na razcinkanje odporna medenina

Uponor Wipex RS2 adapter PN6

Detajli izdelka

Uponor Wipex RS2 adapter PN6 DR 63x5,8 RS2

Dokumenti

Poročilo o vgradnji/montaži
143 B1133497

Poročilo o vgradnji/montaži Ecoflex pressure test heating (1133497)

Poročilo o vgradnji/montaži
118 B1133509

Poročilo o vgradnji/montaži Ecoflex pressure test water pipes (1133509)

Tehnične informacije
10 KB1120217

Tehnični podatki Ecoflex piping systems (1120217)

Splošno

Specifikacije

- Wipex fitingi iz korozijsko odporne medenine, razcinkanje v skladu s standardom DIN EN ISO 6509, skupaj z vijakom iz nerjavnega jekla
- tesnjenje med Wipex spojko in osnovnim fitingom je s pomočjo O-tesnila
- pritrdilni set vsebuje vijak s šestrobo glavo iz nerjavnega jekla, matico iz nerjavnega jekla ter medeninasto podložko
- pri dimenzijah od 63 do 110mm je puša razprta s posebnim distančnikom

Uporaba

- fitingi za cevne sisteme Thermo, Aqua, Quattro, Supra, Supra PLUS in Supra Standard
- priklop PE in PE-Xa notranjih cevi na spojke s pomočjo cilindričnega colskega notranjega navoja
- maksimalna obratovalna temperatura: 95°C

Certifikat

- potrdila/certifikate mora preveriti lokalno odgovorna oseba

Risbe izdelkov

1047013_LAB
1047013
146 B
1047013_REN
1047013
446 B
1047013_REN
1047013
139 B
1047013_ZMD
1047013
164 B