Iz kataloga izdelkov napolnite košarico BIM

Uponor Fluvia zaklj. kapa z odzračeval.

- izdelana iz medenine

Uponor Fluvia zaklj. kapa z odzračeval.

Detajli izdelka

Uponor Fluvia zaklj. kapa z odzračeval. G3/4

Splošno

Specifikacije

- pred-sestavljena črpalčna grupa
- Fluvia Move črpalčna grupa z Uponor Smatrix Move regulatorjem za krmiljenje temperature dovoda
- Fluvia T z nosilcem z možnostjo vgradnje z desne ali leve strani

Uporaba

- Maksimalna temperatura na primarni strani: 90˚C
- Maksimalna temperatura na sekundarni strani: 55-60˚C

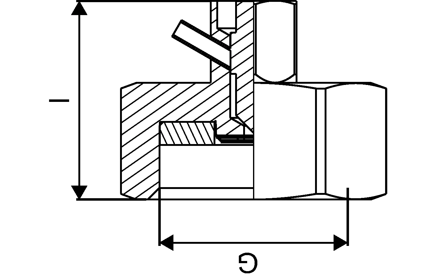
Risbe izdelkov

1008497_LAB
1008497
86 B
1008497_REN
1008497
240 B
1008497_REN
1008497
89 B
1008497_ZMD
1008497
185 B