Fyll på BIM-korgen från produktkatalogen

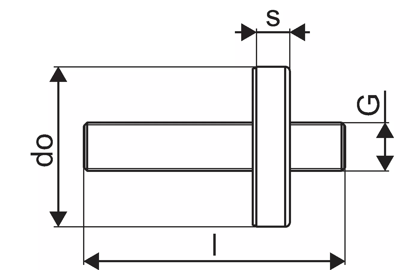
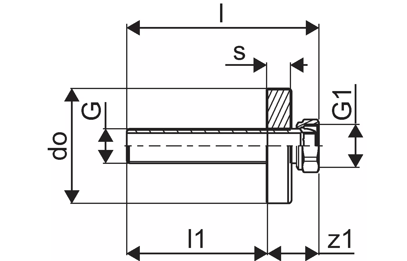
Uponor Aqua PLUS Nippel PL/DR

- Nippel i förkromad mässing
- Avsedd för Väggdosa M7a
- Levereras komplett med täckbricka

Uponor Aqua PLUS Nippel PL/DR

Artikeldetaljer

Uponor Aqua PLUS Nippel PL/DR 1/2"MT-3/4"MT, cap 70mm, l=85mm
Uponor Aqua PLUS Nippel PL/DR 1/2"MT/FT, cap 70mm, l=85mm
Uponor Aqua PLUS Nippel PL/DR 1/2"MT, cap 70mm, l=115mm
Uponor Aqua PLUS Nippel PL/DR 1/2"MT-M26SN, cap 70mm L=85mm

Dokument

Installationsanvisning
391 B1132684

Installationsanvisning Aqua PLUS tap extension (1132684)

AMA-texter
6 KB1119023

Teknisk information Aqua PLUS manifold PPM (1119023)

AMA-texter
1 KB1118689

Teknisk information PE-Xa piping systems (1118689)

Om

Specifikation

- Vattentäta skåp enligt NT VVS 129
- För fördelare med c/c 50 mm
- För M7 fördelarskåpsanslutning
- Inkluderar skåp, stänkskydd och tillbehörssats med fördelarclips
- Dörrar och ramar beställas separat
- RAL 9010
- Plastfördelare för installation i vattentäta skåp
- Fördelare och tillbehör kan användas separat
- Metallkopplingar är tillverkade av högkvalitativ mässing
- Plastkopplingar är tillverkade av PPSU
- PPM fördelare med bajonettfattning

Applikation

- Vattentäta installationer för att förhindra skador i händelse av läckage
- Alla typer av fördelarinstallationer

Produktritningar

1120243_ZMD
1120243
132 B
1120247_ZMD
1120247
113 B
1120248_ZMD
1120248
102 B
1120970_ZMD
1120970
140 B
1120243_REN
1120243
130 B
1120247_REN
1120247
336 B
1120247_REN
1120247
116 B
1120248_REN
1120248
81 B
1120970_REN
1120970
79 B
1120243_LAB
1120243
53 B
1120247_LAB
1120247
58 B
1120248_LAB
1120248
54 B
1120970_LAB
1120970
63 B