Täytä BIM-ostoskori tuoteluettelosta

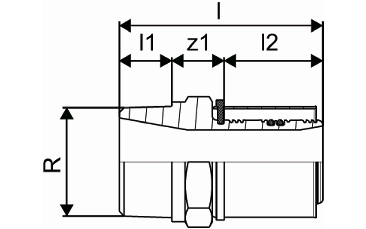
Uponor S-Press puristusliitin uk DR

- Puristusholkki tarkistusikkunalla
- Puristamaton liitin vuotaa painekokeessa
- Värikoodi koon tunnistamiseksi
- Puristusholkkin jälki toimii puristusilmaisimena

Uponor S-Press puristusliitin uk DR

Tuotetiedot

Uponor S-Press puristusliitin uk DR 40-R1 1/4"MT
Uponor S-Press puristusliitin uk DR 40-R1 1/2"MT
Uponor S-Press puristusliitin uk DR 50-R1 1/2"MT
Uponor S-Press puristusliitin uk DR 50-R2"MT

Dokumentit

Asennusohjeet
1 KB1239731

Asennusohje UNI PIPE PLUS and S-Press system 14-110 (1239731)

Asennusraportti
116 B1120119

Asennusraportti MLC leak test report TW water (1120119)

Asennusraportti
127 B1120120

Asennusraportti MLC flushing protocol TW water (1120120)

Hyväksynnät
100 B1030840

UPONOR CER MLC SYS MECH EUFI29-22000514-TH FI (1030840)

Environmental Product Declaration (EPD)
899 B1162876

Uponor EPD S-Press (1162876)

Tietoa

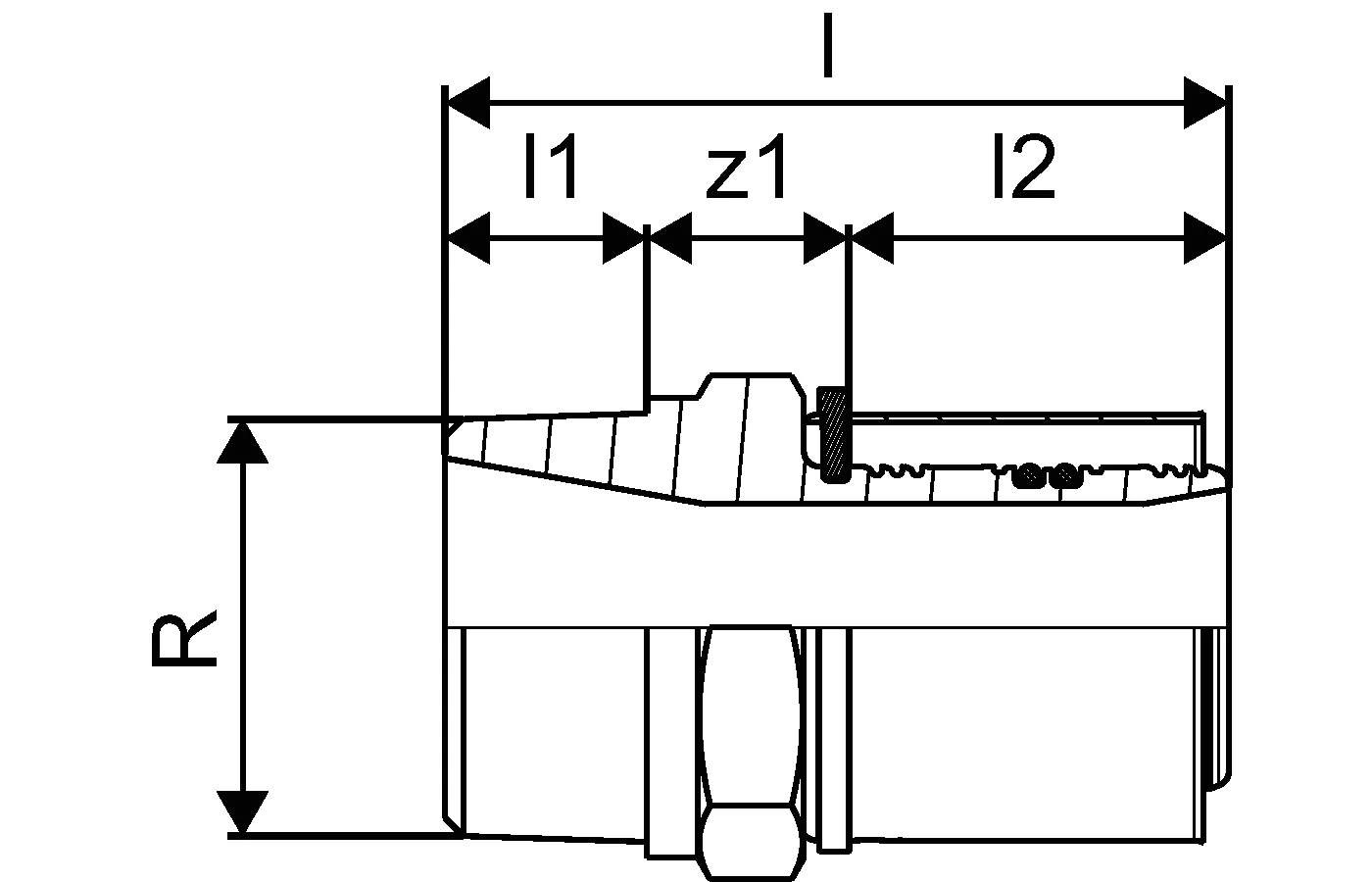
Erittely

- Kiinteä puristusholkki tarkistusikkunalla
- Puristamaton liitin vuotaa painekokeessa
- Värikoodi koon tunnistamiseksi
- Puristusholkin jälki toimii puristusilmaisimena

Sovellus

– Vesijohtovesi: Jatkuva käyttölämpötila on 0–70 °C ja jatkuva käyttöpaine enintään 10 baaria. Lyhytaikainen lämmönkesto on 95 °C sadalle tunnille käyttöiän aikana.

– Lämmitys: Jatkuva käyttölämpötila on enintään 80 °C ja jatkuva käyttöpaine enintään 10 baaria. Lyhytaikainen lämmönkesto on 100 °C sadalle tunnille käyttöiän aikana.

– Ellei toisin mainita:
standardin EN 10226-1 mukaiset uros- ja naaraskierteet.

Tuotekuvat

1046942_ZMD
1046942
79 B
1046943_ZMD
1046943
132 B
1046944_ZMD
1046944
132 B
1046943_LAB
1046943
116 B
1046944_LAB
1046944
116 B
1046942_REN
1046942
448 B
1046942_REN
1046942
117 B
1046943_REN
1046943
147 B