Riempire il carrello BIM dal catalogo prodotti

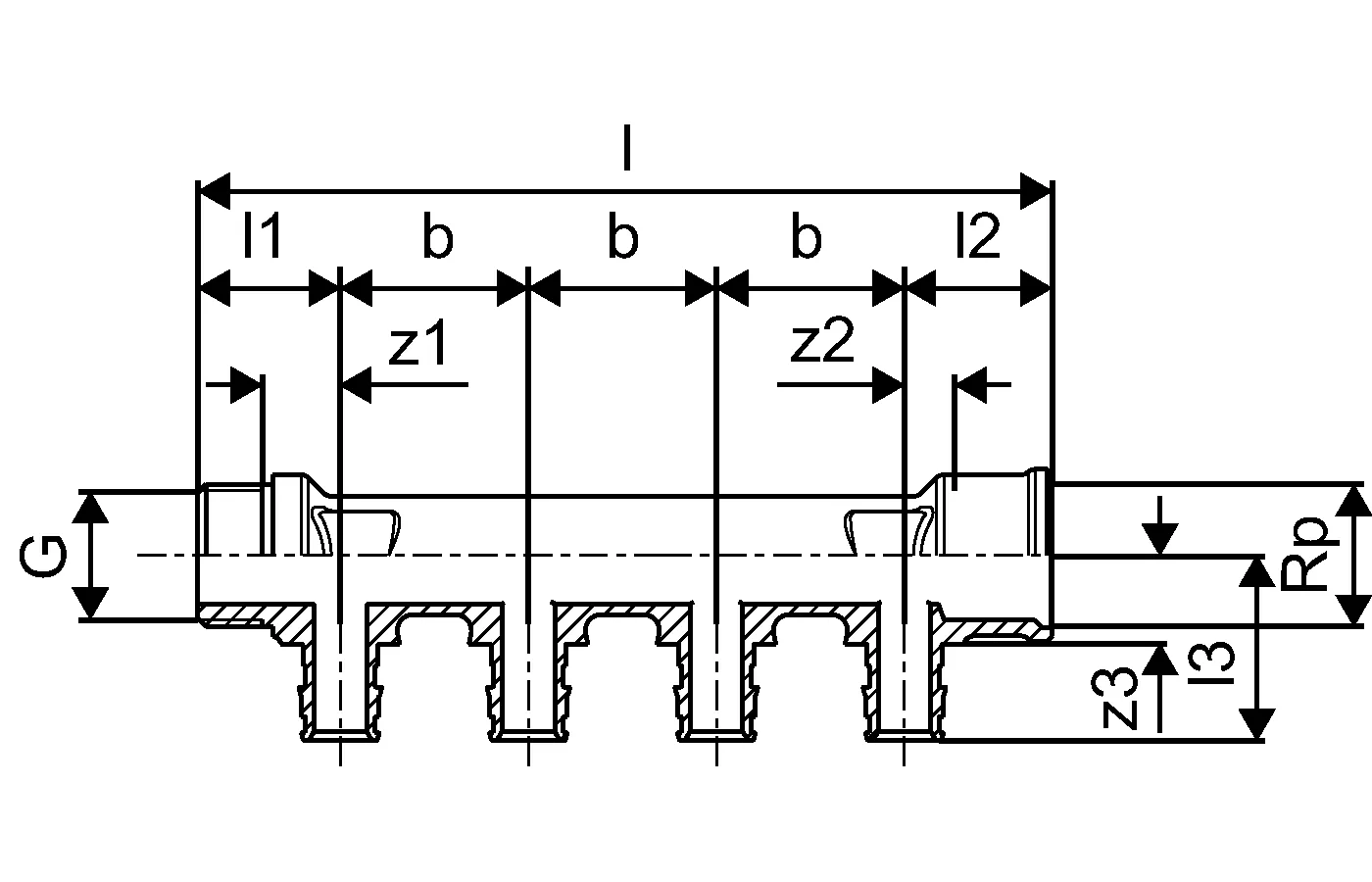
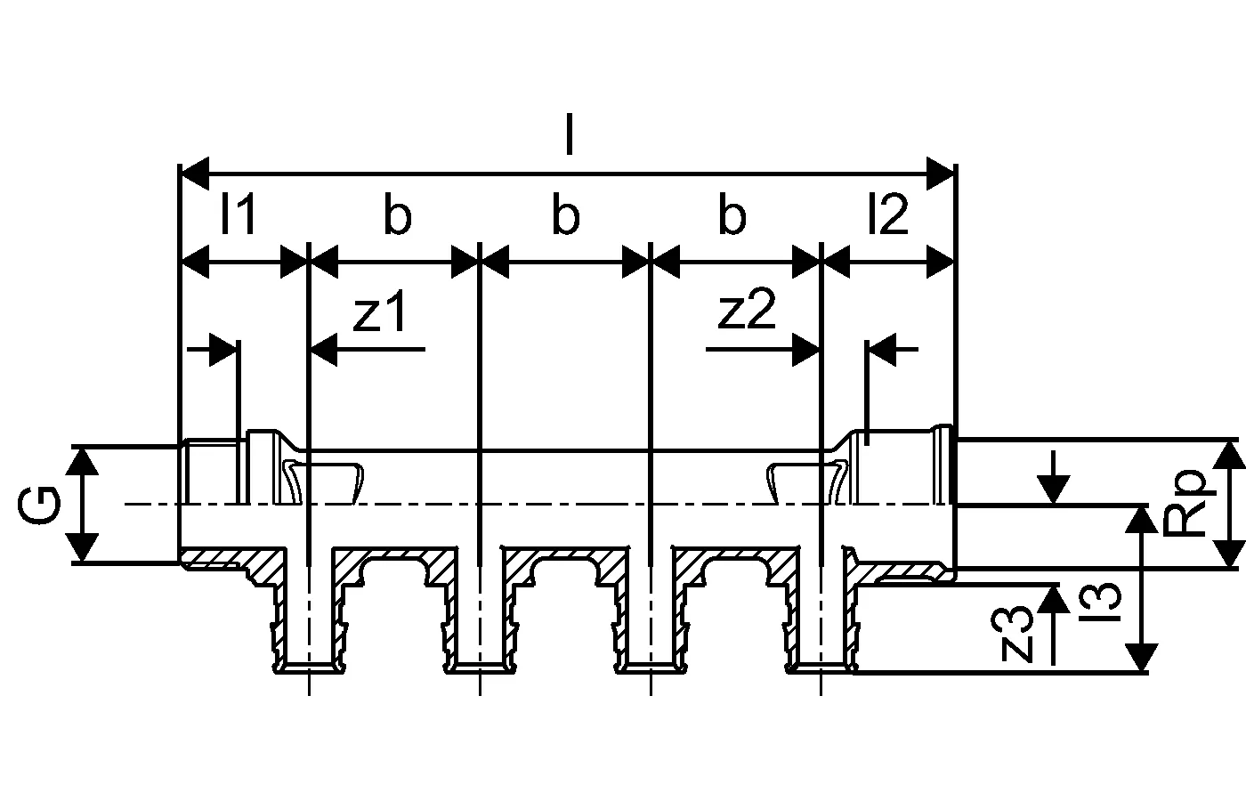
Uponor Q&E Collettore ottone PL

- collettore realizzato in ottone con profilo di tenuta brevettato Quick & Easy
- adatto esclusivamente per tubazioni in PE-Xa Uponor Aqua Pipe, Radi Pipe, Combi Pipe e Comfort Pipe PLUS
- conforme al Decreto Ministeriale n°174 del 6 aprile 2004 per il trasporto dell'acqua potabile
- anelli Q&E non inclusi
- filettatura in accordo con la norma ISO 228-1
- interasse uscite 35 mm

Uponor Q&E Collettore ottone PL

Dettagli articolo

Uponor Q&E Collettore ottone PL 3/4"MT/FT 2x16 c/c35mm
Uponor Q&E Collettore ottone PL 3/4"MT/FT 3x16 c/c35mm
Uponor Q&E Collettore ottone PL 3/4"MT/FT 4x16 c/c35mm

Documenti

Manuale di installazione
1 KB1121763

Manuale di installazione Q&E 9,9-50 (1121763)

Informazioni tecniche
1 KB1118689

Informazioni tecniche PE-Xa piping systems (1118689)

Certificazione
370 B1120785

UPONOR CER Q&E SYS MECH KIWA UNI KIP 106326 (1120785)

Informazioni

Specifiche

- Q&E raccordi e anelli per tubi Uponor PE-Xa
- I raccordi in metallo sono realizzati in ottone di alta qualità
- I raccordi in plastica sono realizzati in polifenilsulfone
- Q&E anelli devono essere ordinati separatamente se non diversamente menzionato

Application

se non diversamente indicato:
- Filetti maschio e femmina conformi a EN 10226-1.

Disegni del prodotto

1023027_ZMD
1023027
182 B
1023028_ZMD
1023028
182 B
1023029_ZMD
1023029
182 B
1023027_LAB
1023027
96 B
1023028_LAB
1023028
80 B
1023029_LAB
1023029
70 B
1023027_REN
1023027
156 B
1023028_REN
1023028
118 B
1023029_REN
1023029
349 B
1023029_REN
1023029
119 B