Riempire il carrello BIM dal catalogo prodotti
Gli indirizzi e-mail del nostro servizio clienti sono stati modificati – Panoramica completa

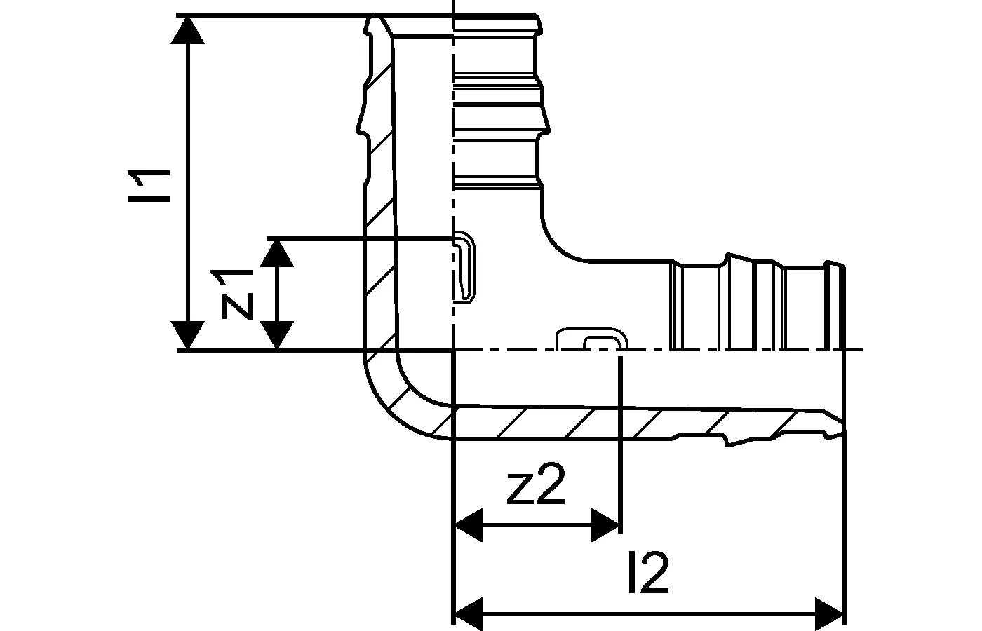
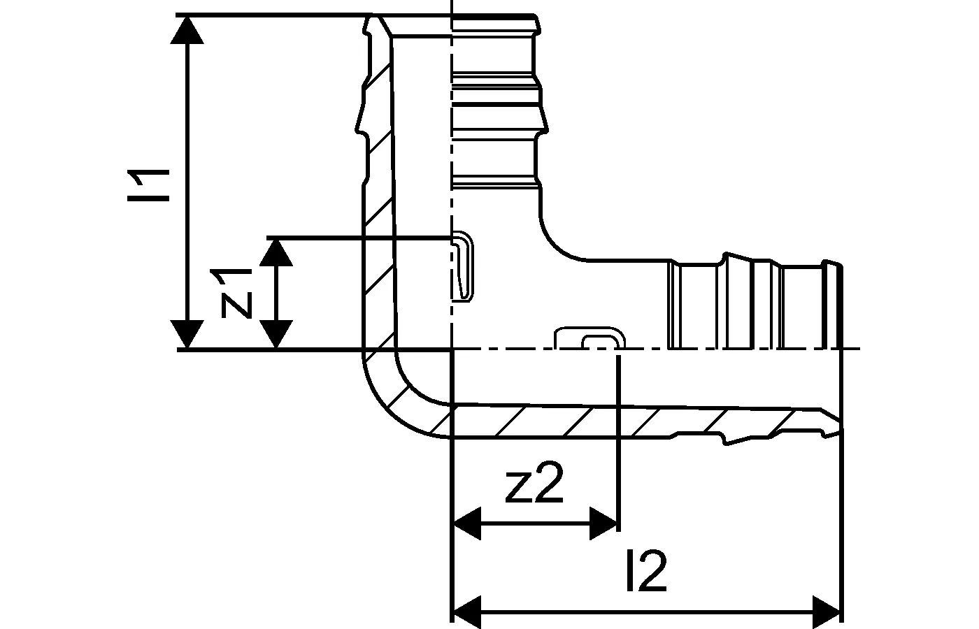
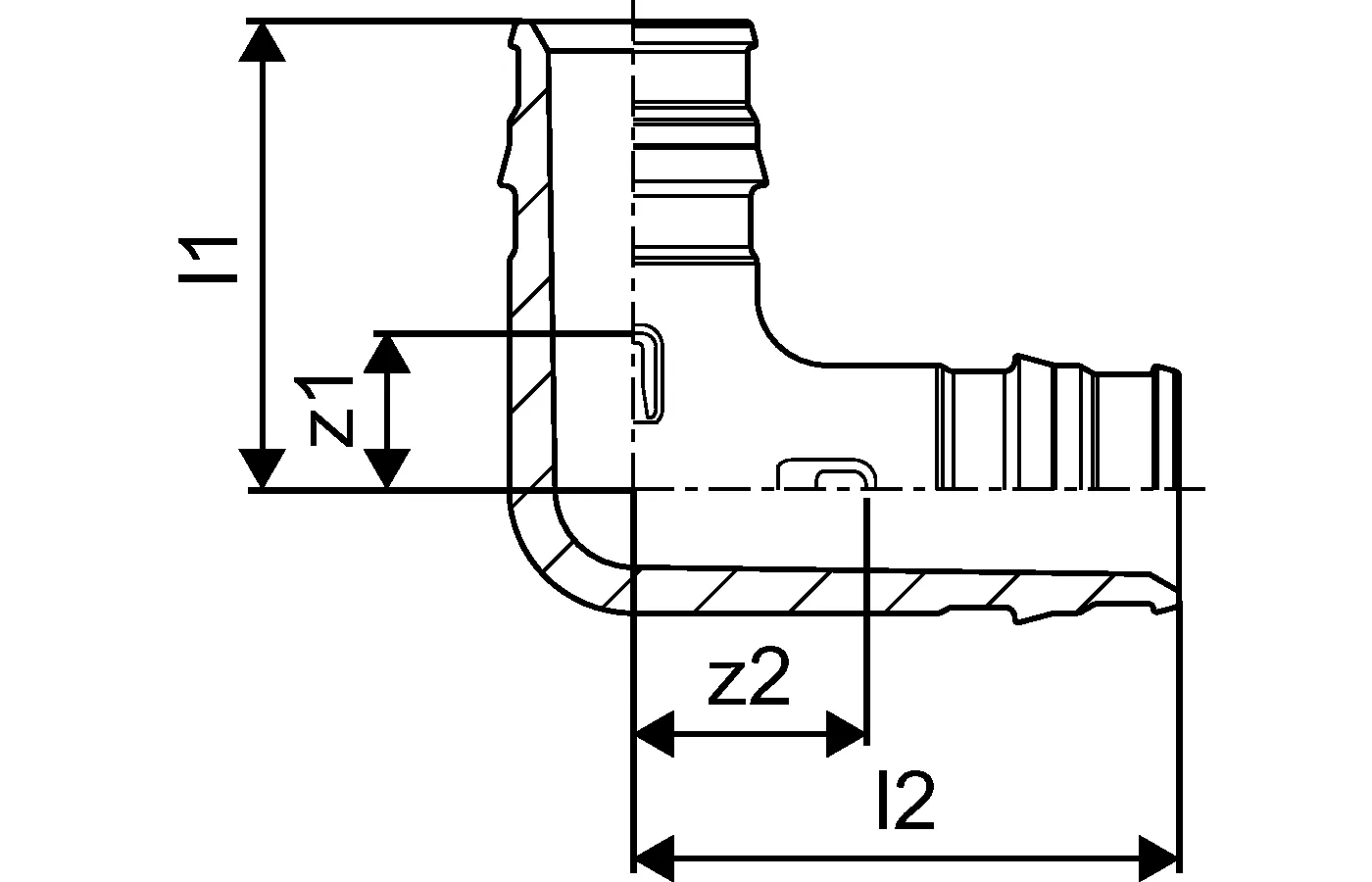
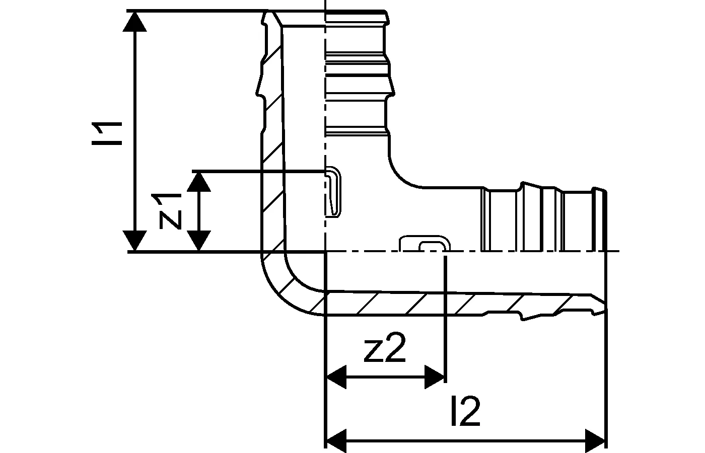
Uponor Q&E Curva intermedia PPSU

- raccordo realizzato in PPSU (polifenilsulfone), con profilo di tenuta brevettato Quick & Easy
- adatto esclusivamente per tubazioni in PE-Xa Uponor Aqua Pipe, Radi Pipe, Combi Pipe e Comfort Pipe PLUS
- conforme al Decreto Ministeriale n°174 del 6 aprile 2004 per il trasporto di acqua potabile
- anelli Q&E non inclusi

Uponor Q&E Curva intermedia PPSU

Dettagli articolo

Uponor Q&E Curva intermedia PPSU 16-16
Uponor Q&E Curva intermedia PPSU 20-20
Uponor Q&E Curva intermedia PPSU 32-32
Uponor Q&E Curva intermedia PPSU 25-25
Uponor Q&E Curva intermedia PPSU 40-40
Uponor Q&E Curva intermedia PPSU 50-50
Uponor Q&E Curva intermedia PPSU 63-63
Uponor Q&E Curva intermedia PPSU 75-75

Documenti

Manuale di installazione
1 KB1087004

Uponor Manuale di installazione Q&E VLD 40-75 (1087004)

Manuale di installazione
1 KB1187006

Manuale di installazione PE-Xa (1187006)

Manuale di installazione
1 KB1121763

Manuale di installazione Q&E 9,9-50 (1121763)

Certificazione
370 B1120786

UPONOR CER Q&E PPSU SYS MECH KIWA UNI KIP 106327 IT (1120786)

Certificazione
348 B1120784

Uponor CER Q&E PPSU FIT MECH KIWA UNI KIP 106325 IT (1120784)

Environmental Product Declaration (EPD)
4 KB1160630

Uponor EPD Q&E PPSU (1160630)

Informazioni

Specifiche

- Q&E raccordi e anelli per tubi Uponor PE-Xa
- I raccordi in metallo sono realizzati in ottone di alta qualità
- I raccordi in plastica sono realizzati in polifenilsulfone
- Q&E anelli devono essere ordinati separatamente se non diversamente menzionato

Application

se non diversamente indicato:
- Filetti maschio e femmina conformi a EN 10226-1.

Disegni del prodotto

1001245_ZMD
1001245
125 B
1008679_ZMD
1008679
42 B
1008680_ZMD
1008680
46 B
1008681_ZMD
1008681
47 B
1008683_ZMD
1008683
125 B
1042858_ZMD
1042858
125 B
1042859_ZMD
1042859
125 B
1001245_LAB
1001245
112 B
1008679_LAB
1008679
112 B
1008680_LAB
1008680
92 B
1008681_LAB
1008681
88 B
1008683_LAB
1008683
112 B
1042858_LAB
1042858
112 B
1042859_LAB
1042859
112 B
1001245_REN
1001245
75 B
1008679_REN
1008679
66 B
1008679_REN
1008679
71 B
1008680_REN
1008680
70 B
1008681_REN
1008681
74 B
1008683_REN
1008683
81 B
1042858_REN
1042858
139 B
1042859_REN
1042859
136 B