Preencher o cesto de compras BIM a partir do catálogo de produtos
O endereço de e-mail do nosso serviço de apoio ao cliente mudou - Visão geral

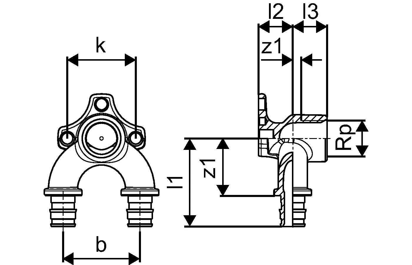
Uponor Smart Aqua joelho em "U" Q&E

- Joelho em U para instalações em loop.
- Rosca fêmea de acordo com a DIN EN 10226-1.

Uponor Smart Aqua joelho em "U" Q&E

Detalhes do item

Uponor Smart Aqua joelho em "U" Q&E 16-Rp1/2"FT-16
Uponor Smart Aqua joelho em "U" Q&E 20-Rp1/2"FT-20

Documents

Manual de instalação
1 KB1121763

Manual de instalação Q&E 9,9-50 (1121763)

Memória descritiva
1 KB1118689

Informações técnicas PE-Xa piping systems (1118689)

Manual de instalação
1 KB1062301

Manual de instalação Uni Pipe PLUS (1062301)

Certificado de aprovação
96 B1030893

Uponor CER Q&E FIT MECH CERTIF_TMP 056-2019_ PT (1030893)

Certificado de aprovação
97 B1090886

Uponor CER Q&E SYS MECH CERTIF TMP-057-2019 PT PT (1090886)

Mais informação

Especificação

- Joelhos terminais com base para fixação sobre a placa.

Aplicação

- Para instalações de água sanitária.

Salvo indicação em contrário:
- Roscas macho/fêmea de acordo com a EN 10226-1.

Product drawings

1059820_REN
1059820
561 B
1059820_REN
1059820
172 B
1059821_REN
1059821
172 B
1059820_LAB
1059820
101 B
1059821_LAB
1059821
101 B
1059820_ZMD
1059820
215 B
1059821_ZMD
1059821
215 B