Item details
Documents
Approval Certificate
Approval Certificate
105 B0000122203
Approval Certificate
44 B0000115615
GF JRG CER Instaflex SYS MECH RINA MAC245324XG Master EN (0000115615)
Approval Certificate
660 B0000115614
GF JRG CER Instaflex SYS MECH LR LR22512700TA Master EN (0000115614)
About
Specification
- The system is subject to constant inspection by internal and external bodies.- These inspections range from quality assurance during production to ISO certification- for environmental and process safety. The INSTAFLEX system meets all the essential- requirements for building technology applications and is subject to constant monitoring by the- licensing offices for drinking water, heating and compressed air installations on land and sea.
Application
Instaflex offers complete solutions for single-family homes, multi-family residfential buildings, healthcare, eduacation,industrial, or commercial building Application areas - hot & cold water, compressed air, cooling systems - Surface and flush-mounted pipelines
Certification
- WRAS material approval (BS6920)
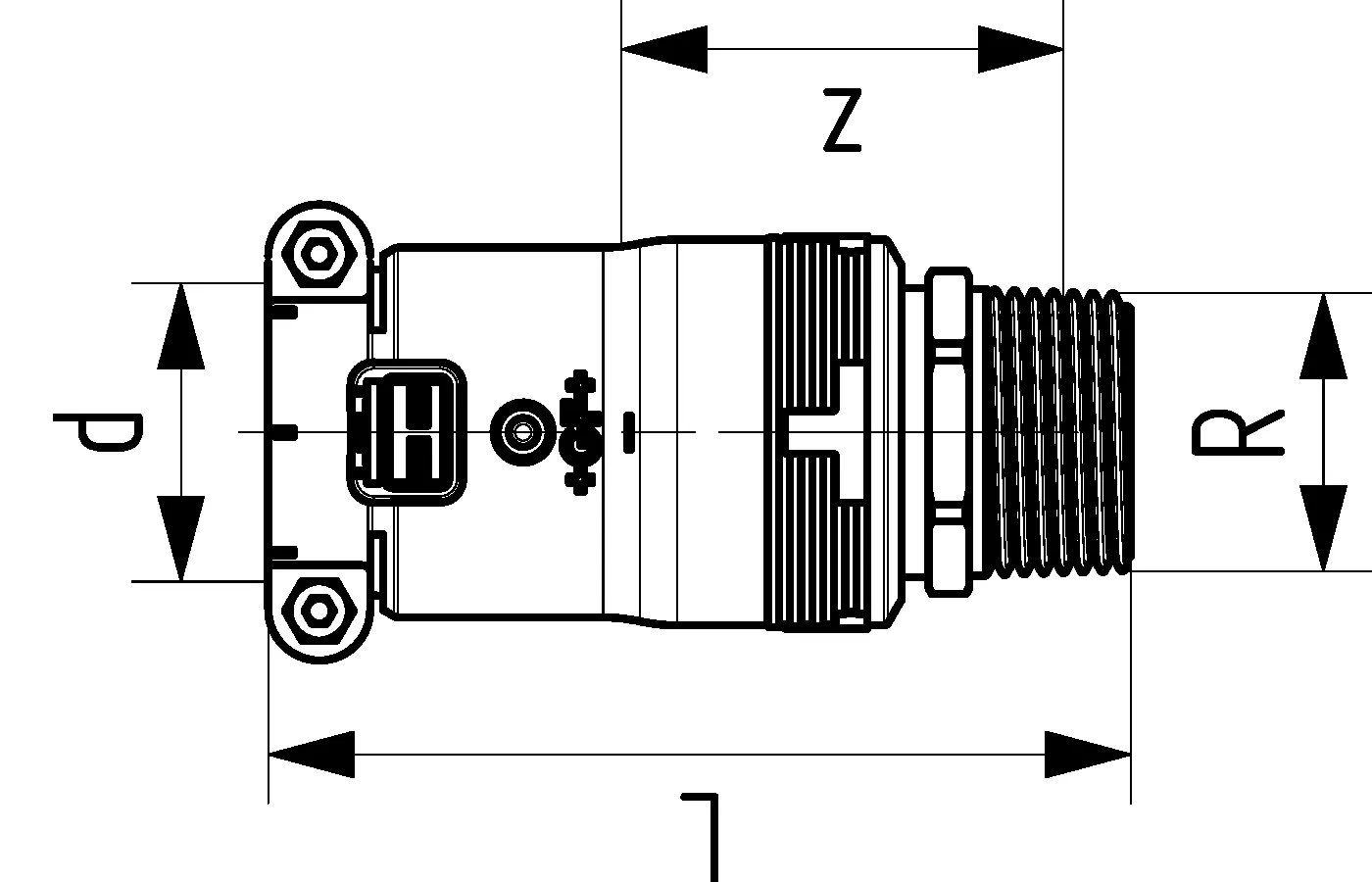
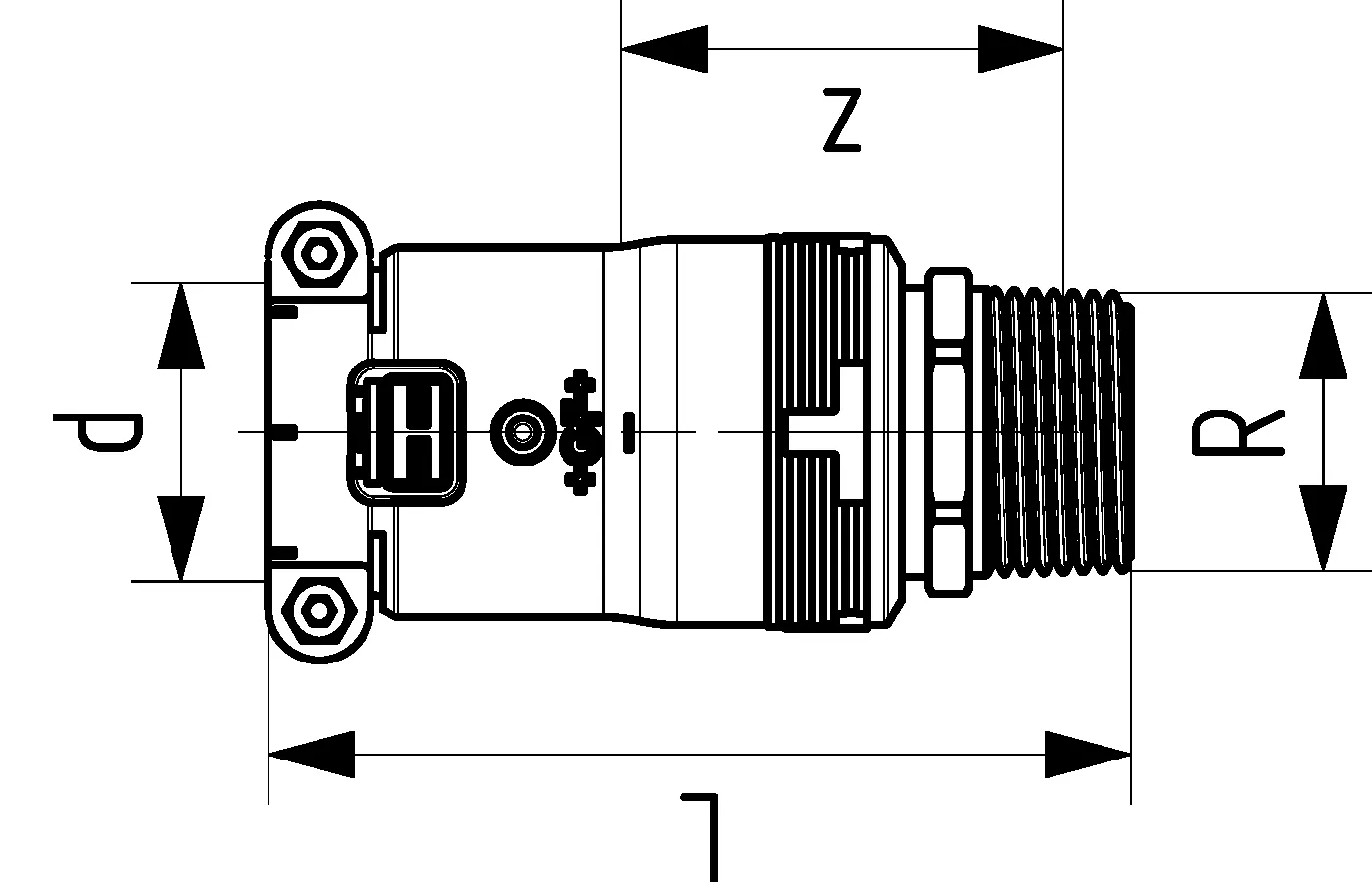
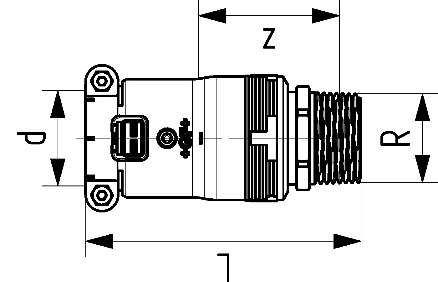
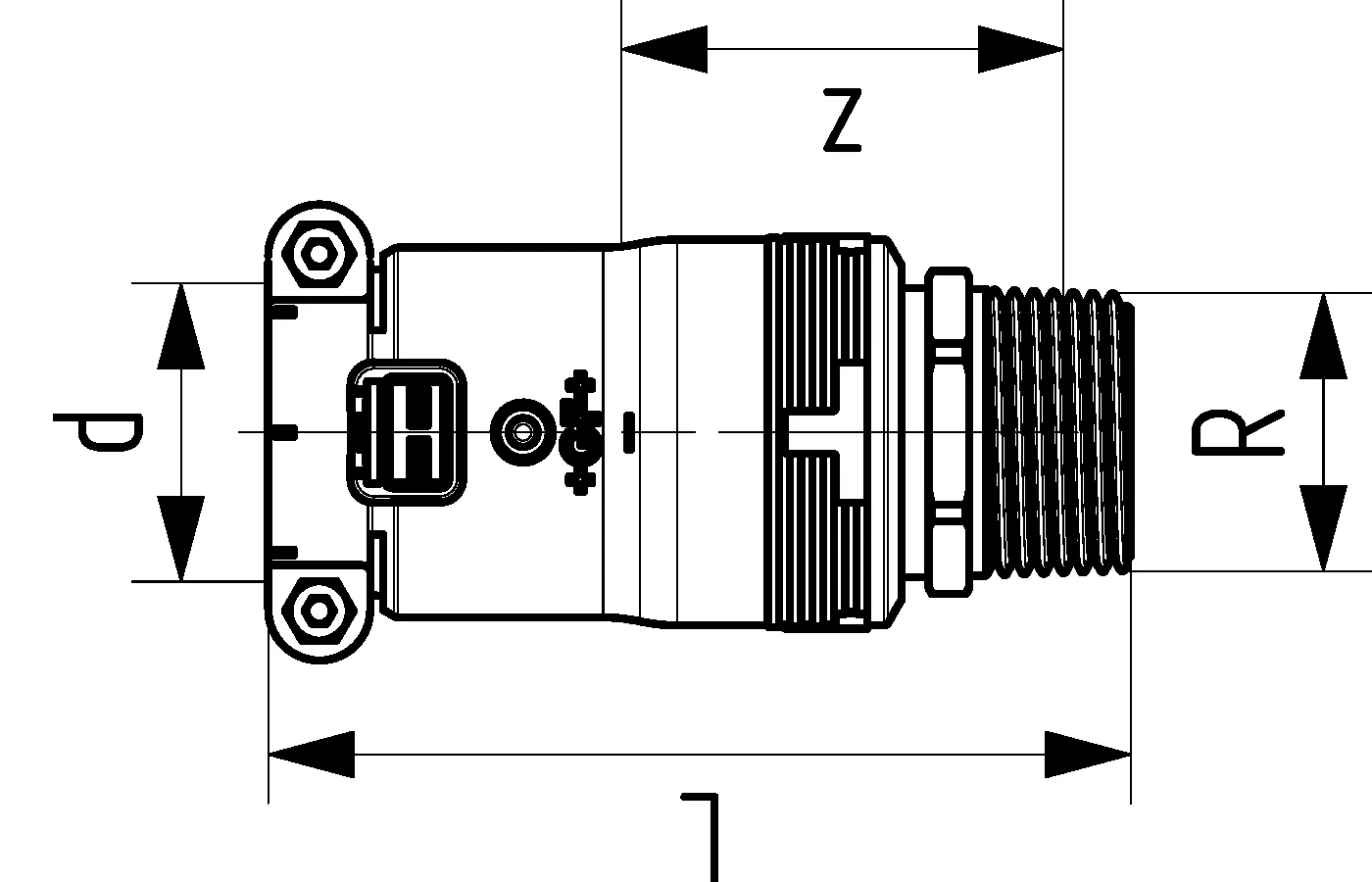
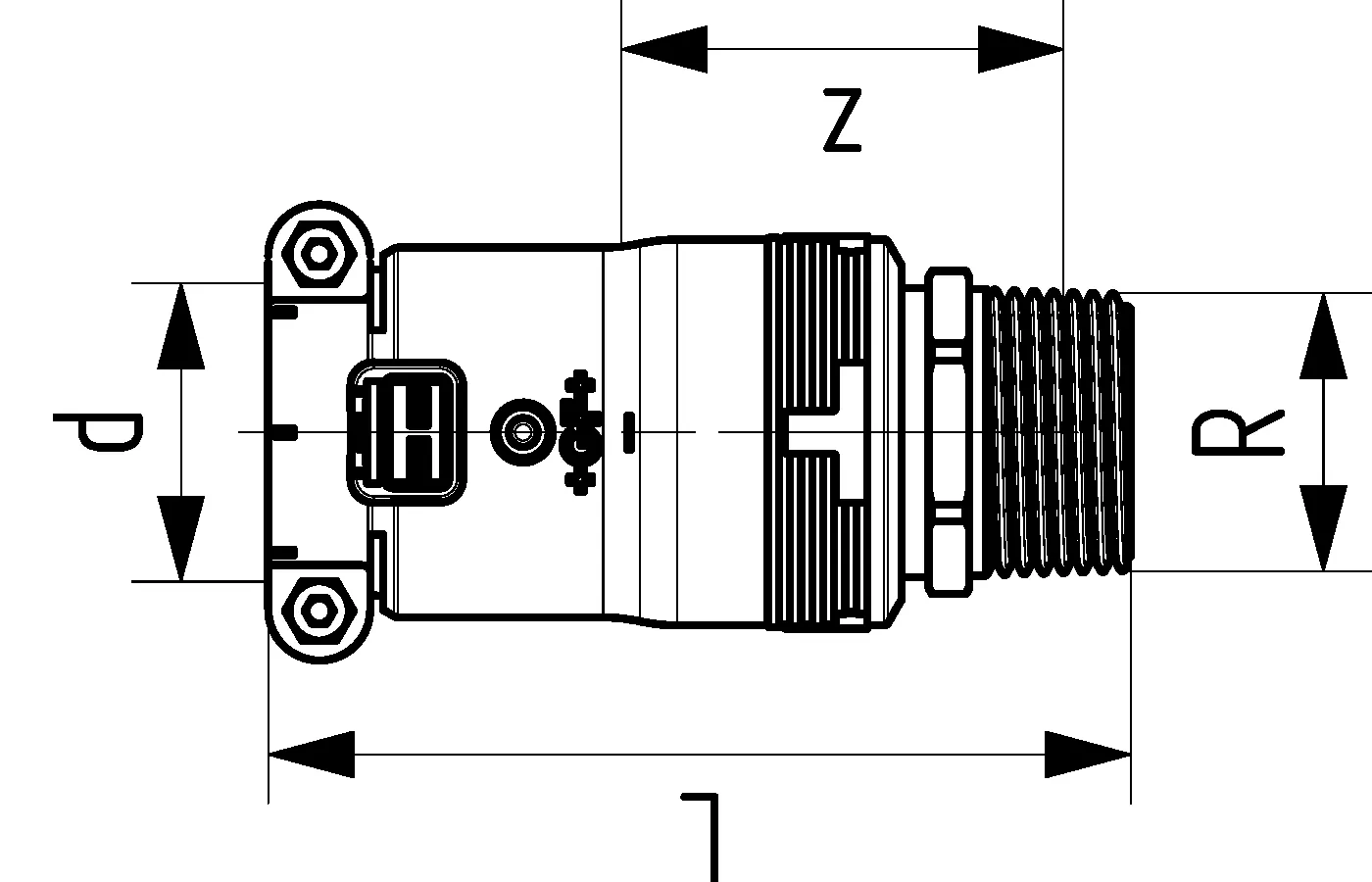
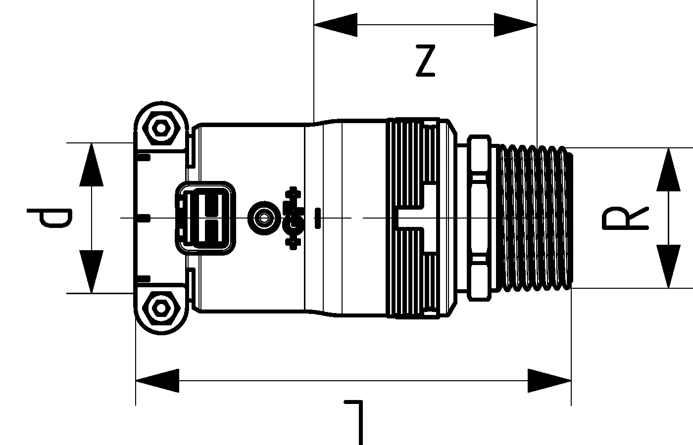
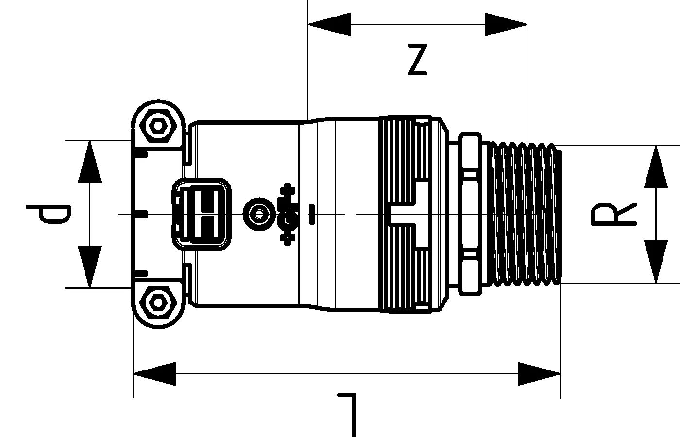
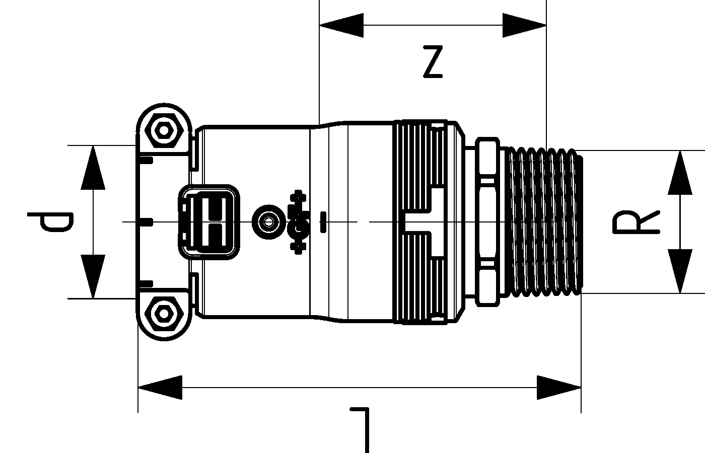
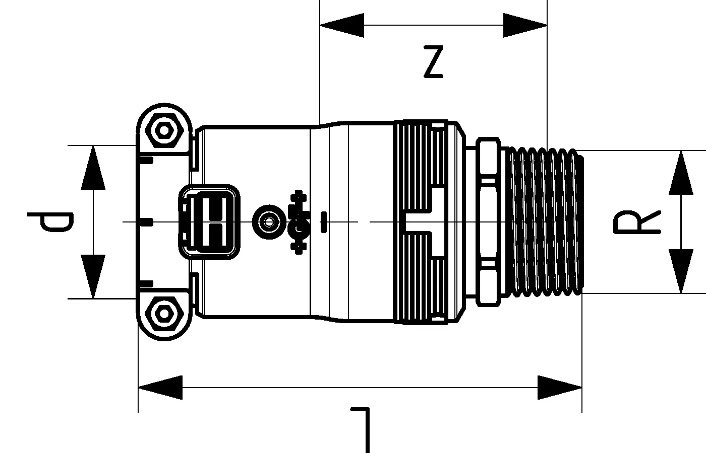
Product drawings
Label drawings
Z-drawing
Other
190 B
Download document190 B
Download document190 B
Download document190 B
Download document190 B
Download document190 B
Download document190 B
Download document190 B
Download document190 B
Download document.jpg?sitename=Global&ext=.jpg&height=440)
.jpg?sitename=Global&ext=.jpg&height=158)