Töltse meg a BIM kosarat a termékkatalógusból
Ügyfélszolgálati e-mail címünk megváltozott – Áttekintés

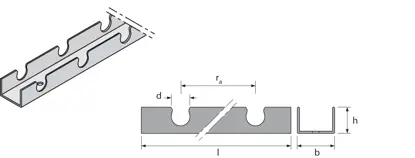
Uponor Fix tartósín

- Bilincspálya 9.9mm-es csőhöz
- Osztásköz: 20mm"

Uponor Fix tartósín

Termék adatok

Uponor Fix tartósín 9,9mm c/c20mm 2,5m

Leírás

Specifikáció

- Fix rendszer a falakon, mennyezeten és padló alatti installációkban történő csőrögzítésekhez, a csőrögzítéshez szükséges szorítósínekből áll.

Alkalmazás

- Sugárzó padlófűtés és -hűtés
- Sugárzó fali és mennyezeti fűtés és hűtés
- Gipsz-, cement- és anhidritalapú esztrichekhez

Bizonyítvány

- DIN CERTCO: 7F277-W, 7F347-DW

Termékrajzok

0000046113_00_1005274_REN
0000046113
40 B
1005274_REN
1005274
89 B
1005274_REN
1005274
35 B
1005274_ZMD
1005274
58 B