Vul het BIM winkelmandje vanuit de productcatalogus

Uponor Q&E T-stuk verlopend PL

Uponor Q&E T-stuk verlopend PL

Artikeldetails

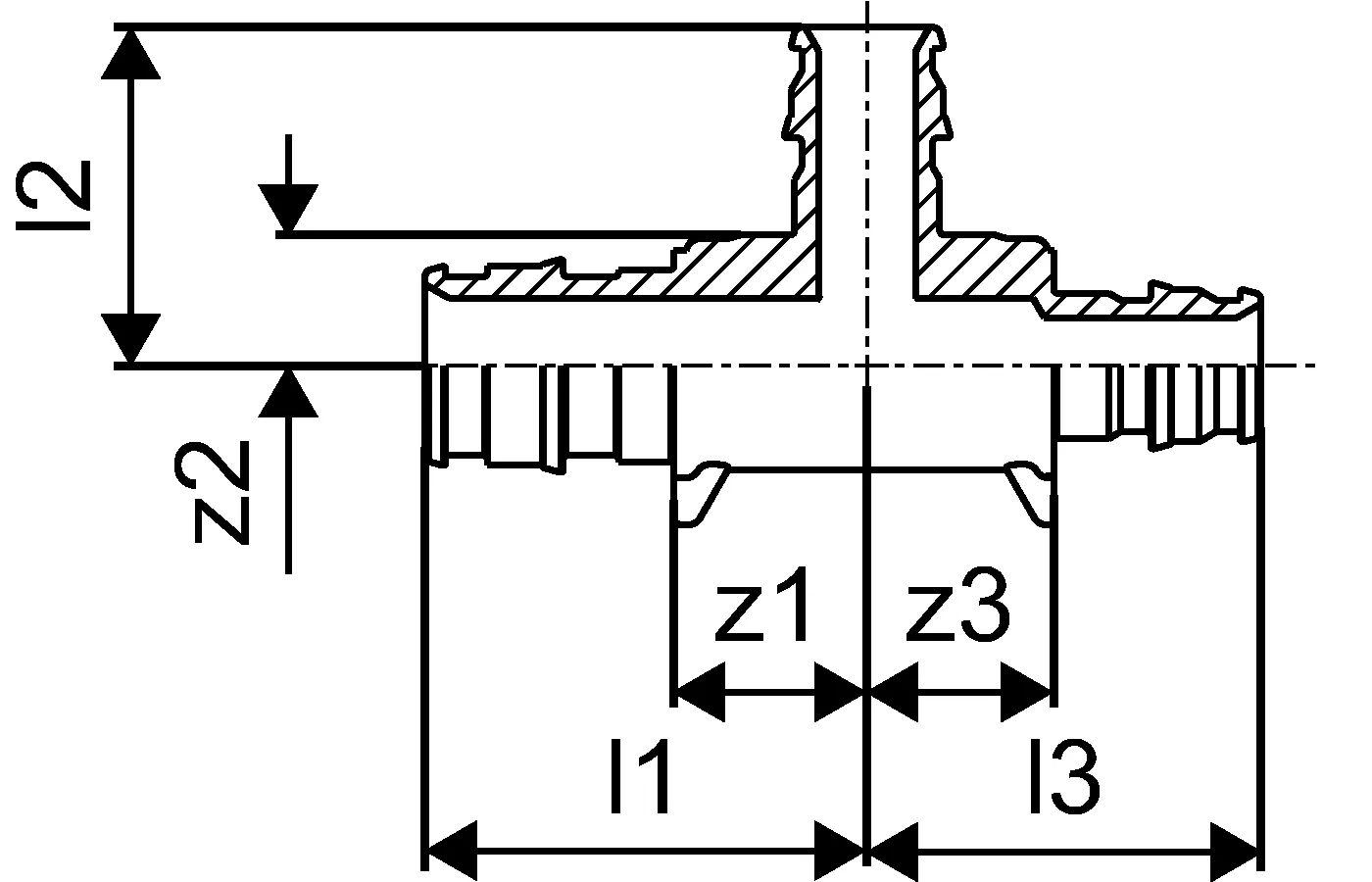
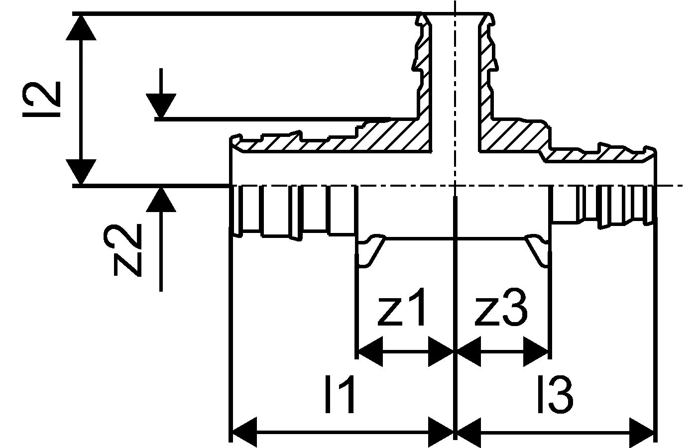
Uponor Q&E T-stuk verlopend PL 16-12-12
Uponor Q&E T-stuk verlopend PL 16-12-16
Uponor Q&E T-stuk verlopend PL 16-16-12

Documenten

Installatiehandleiding
1 KB1121763

Installatiehandleiding Q&E 9,9-50 (1121763)

Technische informatie
1 KB1118689

Technische gegevens PE-Xa piping systems (1118689)

Certificaat van goedkeuring
514 B1030729

Uponor CER Flex FIT MECH KIWA K6434-06 EN (1030729)

Over

Specificatie

- Q&E fittingen en borgringen voor Uponor PE-Xa leidingen
- Metalen fittingen van corrosiebestendig messing
- Kunststof fittingen van PPSU (polyfenylsulfon)
- Q&E borgveren moeten apart besteld worden
- Uitwendige en inwendige schroefdraad volgens DIN EN 10226-1

Toepassing

- Toepassingsgebied voor drinkwater: max. toegestane continue bedrijfstemperatuur van 0 °C tot 70 °C bij
max. continue bedrijfsdruk van 10 bar, kortstondige fouttemperatuur van 95 °C voor maximaal 100 bedrijfsuren.
- Toepassingsgebied verwarming: toepassingsklasse 4 en 5/6 bar, berekeningstemperatuur: 80 °C,
Maximale bedrijfstemperatuur 90 °C, fouttemperatuur 100 °C voor maximaal 100 bedrijfsuren.

Producttekeningen

1058477_ZMD
1058477
181 B
1058478_ZMD
1058478
196 B
1058479_ZMD
1058479
177 B
1058477_REN
1058477
405 B
1058477_REN
1058477
129 B
1058478_REN
1058478
62 B
1058479_REN
1058479
129 B
1058477_LAB
1058477
100 B
1058478_LAB
1058478
96 B
1058479_LAB
1058479
100 B