Fill the BIM cart from the product catalogue

Uponor Uni Pipe PLUS white in conduit

- coil
- pipe in conduit

Uponor Uni Pipe PLUS white in conduit

Item details

Uponor Uni Pipe PLUS white in conduit 16x2,0 - 25/20 red 75m
Uponor Uni Pipe PLUS white in conduit 16x2,0 - 25/20 blue 75m
Uponor Uni Pipe PLUS white in conduit 20x2,25 - 28/23 red 75m
Uponor Uni Pipe PLUS white in conduit 20x2,25 - 28/23 blue 75m

Documents

Installation Report
116 B1120119

Installation Report MLC leak test report TW water (1120119)

Installation Report
127 B1120120

Installation Report MLC flushing protocol TW water (1120120)

Installation Report
110 B1120118

Installation Report MLC leak test report TW air-gas (1120118)

Environmental Product Declaration (EPD)
869 B0000123297

null

Application information

Specification

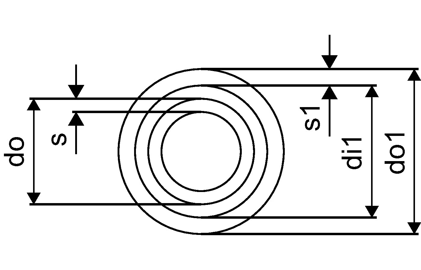
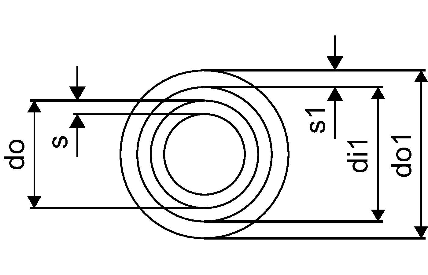
- Oxygen diffusion resistant multi-layer composite pipe (PE-RT - adhesive – seamless aluminium/longitudinally welded aluminium - adhesive - PE-RT) produced using SACP and OWC-technology.
- Fire classification E according to EN 13501-1.
- With pipe end caps as hygienic seal according EN 806.

Application

- Tested/Approved according EN ISO 21003 Multilayer piping systems for hot and cold water installations inside buildings for application class 1,2,4,5/10bar
- Tap water: The permanent operating temperature ranges from 0°C to 70°C at a maximum permanent operating pressure of 10 bar. The short-term malfunction temperature is 95°C for a period of 100 hours in the operating life time.
- Heating: The permanent operating temperature ranges up to 80°C at a maximum permanent operating pressure of 10 bar. The short-term malfunction temperature is 100°C for a period of 100 hours in the operating life time.

Certification

- Approvals by local OM.
E.g.
- DVGW
- AENOR

Product drawings

1063059_ZMD
1063059
192 B
1063060_ZMD
1063060
192 B
1063061_ZMD
1063061
192 B
1063062_ZMD
1063062
192 B
1063059_REN
1063059
92 B
1063060_REN
1063060
58 B
1063061_REN
1063061
513 B
1063061_REN
1063061
209 B
1063062_REN
1063062
209 B
1063059_LAB
1063059
56 B
1063060_LAB
1063060
111 B
1063061_LAB
1063061
111 B
1063062_LAB
1063062
111 B