Fill the BIM cart from the product catalogue
Our customer service email addresses have changed - Overview

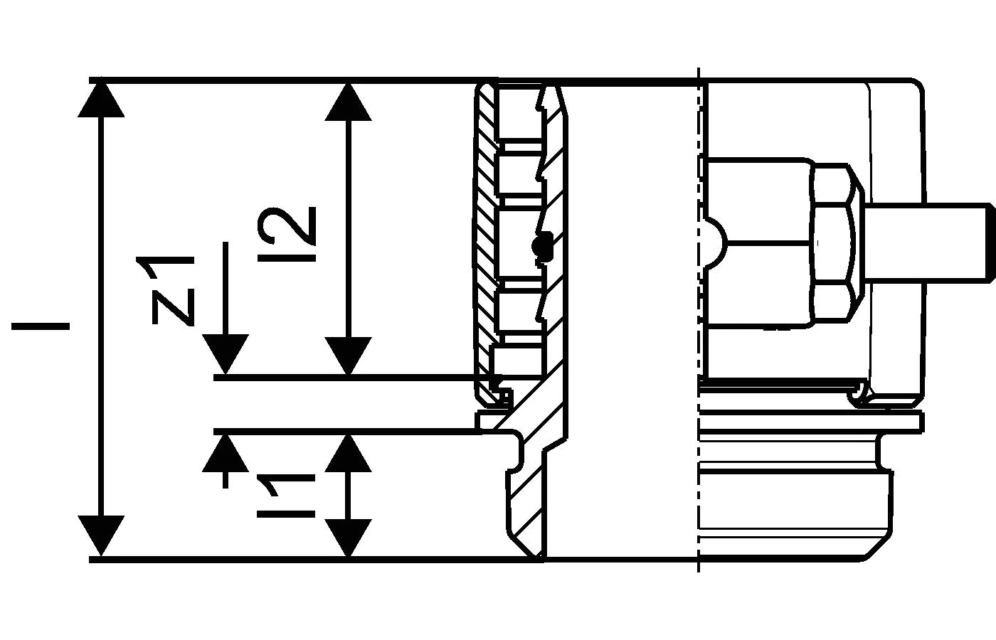
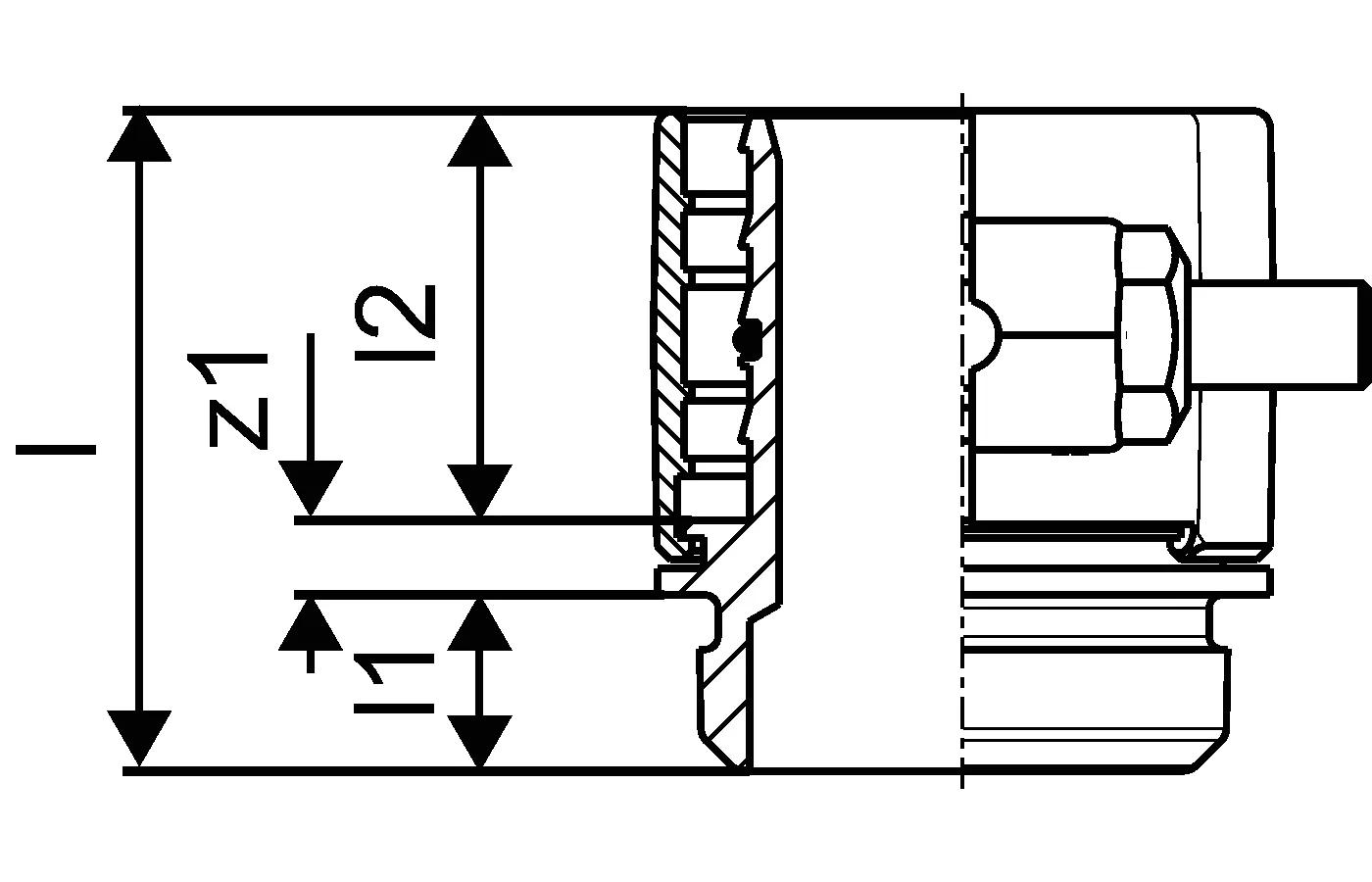
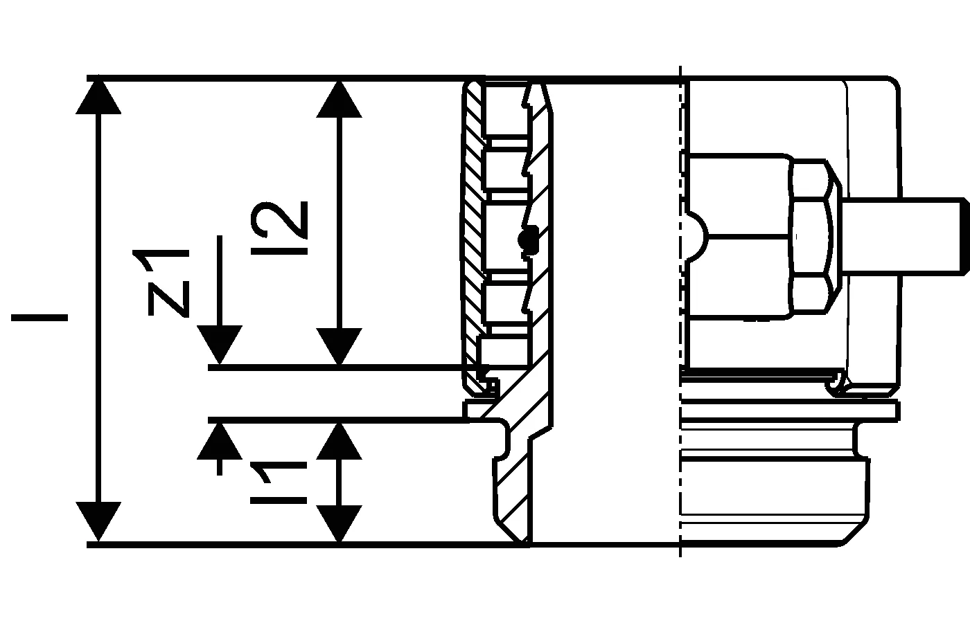
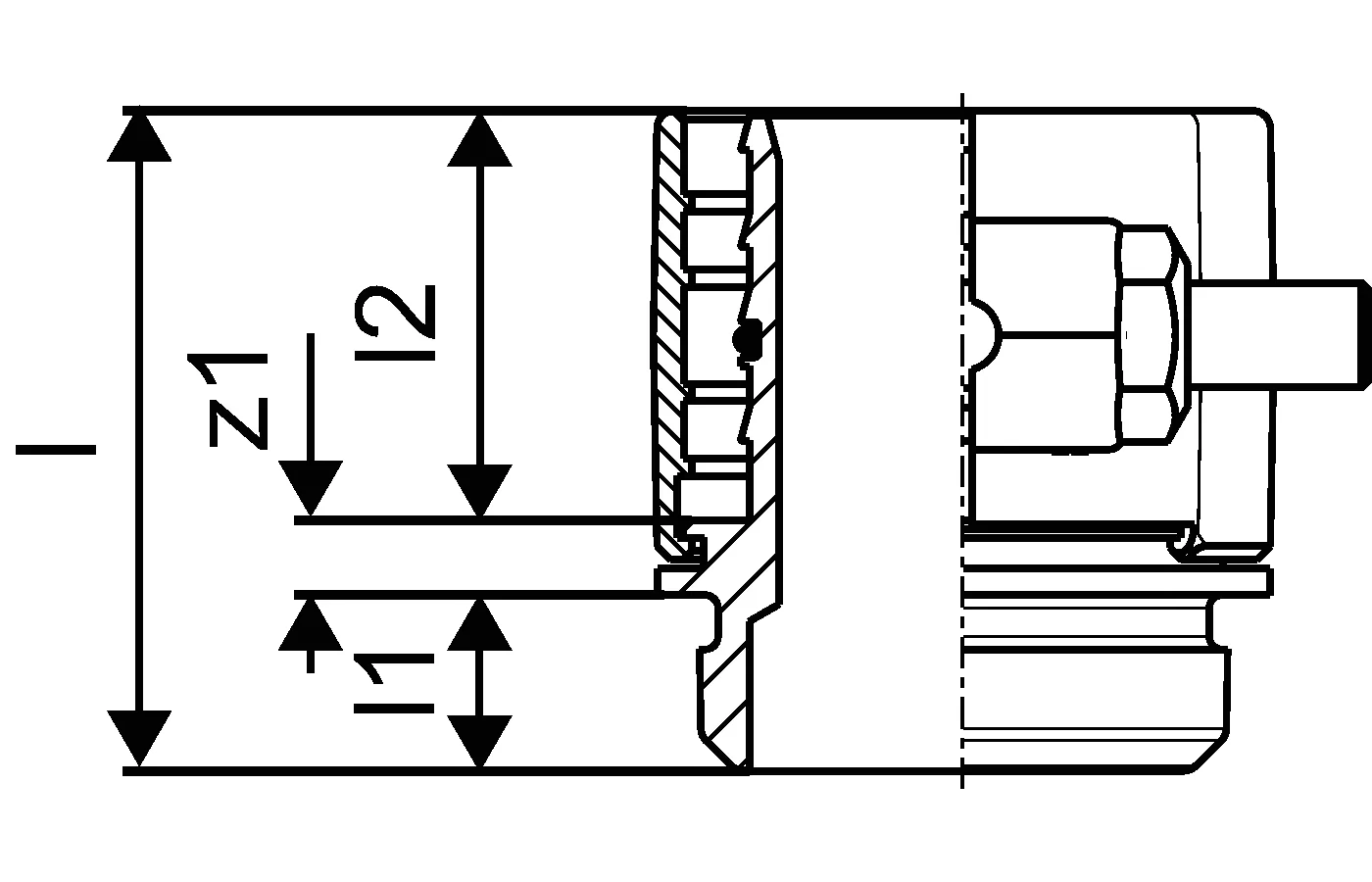
Uponor Wipex RS adapter PN6

- RS = unique modular fitting connection
- 6 bar, SDR 11
- DR = dezincification resistance brass

Uponor Wipex RS adapter PN6

Item details

Uponor Wipex RS adapter PN6 DR 63x5,8 RS2
Uponor Wipex RS adapter PN6 DR 75x6,8 RS2
Uponor Wipex RS adapter PN6 DR 110x10,0 RS3

Documents

Installation Report
137 B1120219

Installation Report Ecoflex pressure test water pipes (1120219)

Installation Report
162 B1120218

Installation Report Ecoflex pressure test heating (1120218)

Technical information
10 KB1120217

Technical Information Ecoflex piping systems (1120217)

Application information

Specification

- Wipex fittings in corrosion-resistant brass, dezincification based on EN ISO 6509 with stainless steel screw.
- O-ring sealing between Wipex coupling and base fitting connectors
- Bolt set for couplers include a hex socket bolt in stainless steel and the nut as well as washer from brass
- Pre-open sleeve design with assembled support part for the dimension 63-110mm.

Application

- Fittings for pipe systems Thermo, Aqua, Quattro, Supra, Supra PLUS and Supra Standard
- Connection of PE and PE-Xa medium pipe to couplers with cylindrical inch male thread
- Max. operating temperature 95°C

Certification

- Approvals should be checked by local responsible person

Product drawings

1047013_ZMD
1047013
164 B
1047014_ZMD
1047014
164 B
1047016_ZMD
1047016
164 B
1047013_LAB
1047013
146 B
1047014_LAB
1047014
146 B
1047016_LAB
1047016
146 B
1047013_REN
1047013
446 B
1047013_REN
1047013
139 B
1047014_REN
1047014
172 B
1047016_REN
1047016
185 B