Overvannskummer

Overvannskummer

Varedetaljer

HJELPE- / RENNESTENSKUM 315/110-160 PP
STORM CHAMBER 400/1X200 RED BROWN 2M PP PLATE BOTTOM ONE SPIGOT 400/315 MANCHETTE
1051742 / - / -

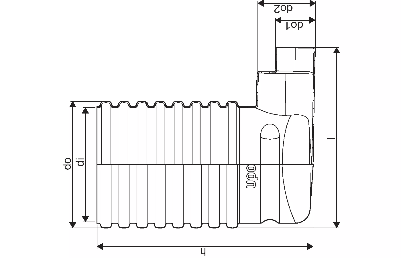
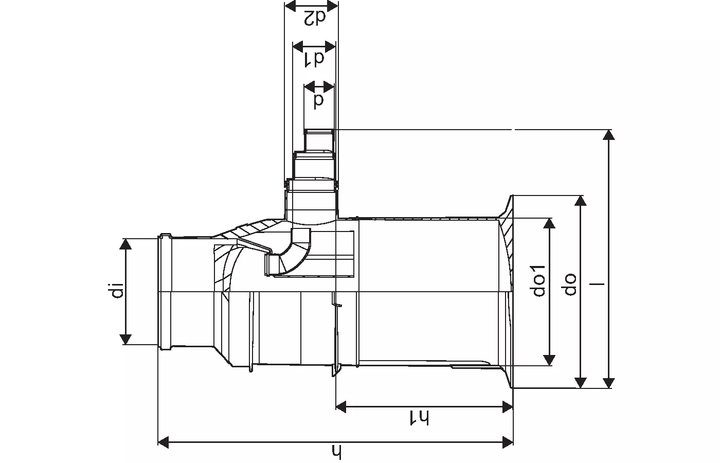
SWS 400/110 CH CONN

SWS 400/110 CH CONN
1056862 / - / -

SWS 400/110 CH CONN

SWS 400/110 CH CONN
STORM CHAMBER 450/400 BLACK 1,5M PP WELDED BOTTOM
STORM CHAMBER 560/110-160-200 150L RED BROWN PP NO TELESCOPE PART
OVERVANNSKUM 1000 2,75M PP
1054481 / 3220483 / -

SANDFANGSKUM 315/110 35 L PP

SANDFANGSKUM 315/110 35 L PP
SANDFANGSKUM 315/110 35L PP M/VANNLÅS
SANDFANGSKUM 315/110 70L PP M/VANNLÅS
SANDFANGSKUM 315/160 35L PP M/VANNLÅS
SANDFANGSKUM 315/160 70L PP M/VANNLÅS

Dokumenter

Produkttegninger

1054475_PHO
1054475_PHO
196 B
1054477_PHO
1054477_PHO
197 B
1064442_PHO
1064442_PHO
886 B
1087210_PHO
1087210_PHO
376 B
1053697_REN
1053697
7 B
1054477_REN
1054477
15 B
1059458_REN
1059458
89 B
1053697_ZMD
1053697
131 B
1064442_ZMD
1064442
142 B