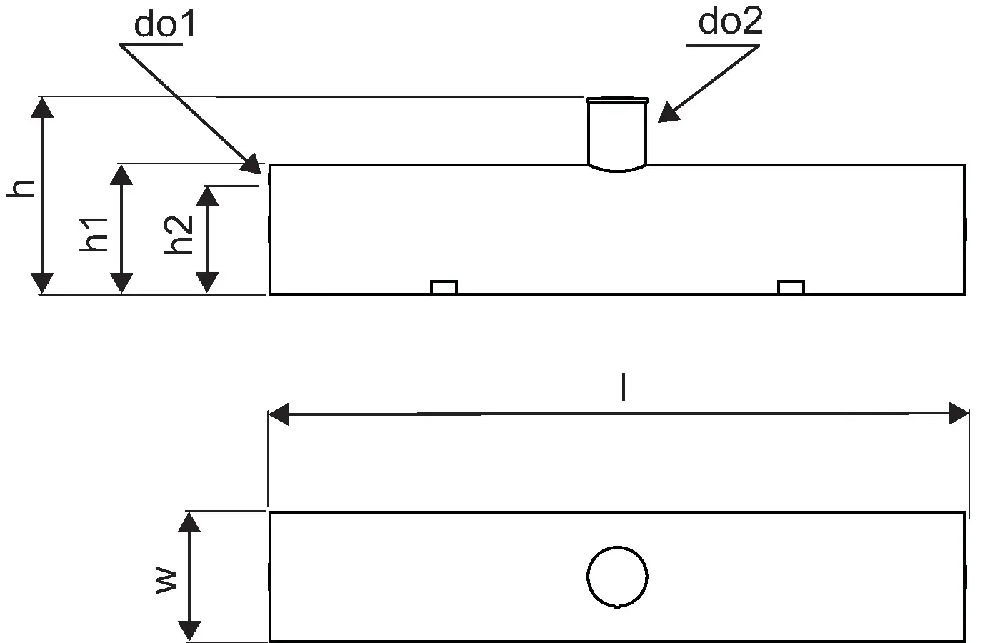
WEHOLITE Ø1400 12 M3 SAMLETANK

WEHOLITE Ø1400 12 M3 SAMLETANK
Varenr.1073129

Detaljer

Teknisk data

VVS nr223146612
Vægt kg722,2 kg
Bredde mm1520 mm
Højde mm2520 mm
Måleenhed (UOM)stk

Dokumentation

2D Customer Drawings
264 B0000121356

Type drawing of Uponor holding tank (EN) (pdf)

Ark/Løsblade
901 B0000092783

Uponor Weholite magasin, Teknisk datablad (Danish)

Ark/Løsblade
1 KB0000090565

Samletanke til spildevand Weholite Teknisk datablad (Danish)

CAD
3 KB0000121439

CAD file for Uponor holding tanks 12m3, 15m3 and 18m3 (DWG) (EN)

CAD file for Uponor holding tanks 12m3, 15m3 and 18m3 (DWG) (EN)