WEHOLITE Ø2000 32 M3 SAMLETANK

WEHOLITE Ø2000 32 M3 SAMLETANK
Varenr.1074985

Detaljer

Teknisk data

VVS nr223146632
Vægt kg1860,25 kg
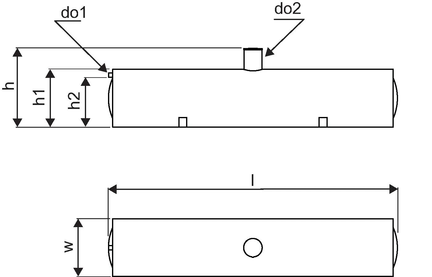
Bredde mm2170 mm
Højde mm3170 mm
Måleenhed (UOM)stk

Dokumentation

2D Customer Drawings
266 B0000121359

Type drawing of Uponor holding tank (EN) (pdf)

Ark/Løsblade
901 B0000092783

Uponor Weholite magasin, Teknisk datablad (Danish)

Ark/Løsblade
1 KB0000090565

Samletanke til spildevand Weholite Teknisk datablad (Danish)

CAD
3 KB0000121442

Uponor holding tanks 21m3, 25m3, 28m3, 32m3, and 35m3 (DWG) (EN)

Uponor holding tanks 21m3, 25m3, 28m3, 32m3, and 35m3 (DWG) (EN)